Гидравлический домкрат устройство: Домкраты: устройство и принцип работы
Устройство гидравлического домкрата и особенности эксплуатации
С этим грузоподъемным инструментом знакомы многие. Как правило, домкрат ассоциируется с машиной, и он всегда лежит в багажнике авто любого уважающего себя автомобилиста. Однако сфера применения данного механизма столь обширна, что составлять список работ, которые можно при его помощи выполнить – абсолютно бессмысленное занятие. Даже в частном секторе он служит не только для замены колес автомобиля.
Все зависит от смекалки хозяина. Вот только некоторые примеры, поясняющие, где домкрат может пригодиться:
- при ремонте фундамента на винтовых сваях, когда необходимо приподнять несущий каркас;
- если необходимо сжать тугую, мощную пружину;
- для проталкивания труб;
- в процессе разрушения перекрытия, если ручным инструментом это сделать не получается.
Существует большой ассортимент данной продукции. Домкраты различаются возможностями, принципом работы (кроме гидравлических, есть еще 3 типа устройств), весом и тому подобное.
Разновидности гидравлических домкратов
- По инженерному решению – двух- или одноплунжерные, зацепные, двухуровневые, подкатные и ряд других.
- По приводу – электрические или ручные.
По рисунку несложно понять устройство гидравлического домкрата и принцип функционирования механизма. Рассмотрим на примере самого простого варианта – ручного одноштокового «бутылочного». На нем указан лишь 1 клапан – нагнетательный, хотя их может быть и 2 (у двухплунжерных моделей). Он служит для того, чтобы исключить перетекание жидкости в обратном направлении.
При нажатии на рычаг под действием давления жидкость из насоса поступает в цилиндр и начинает воздействовать на шток. Чем больше «качков», тем выше он поднимается. По окончании работы открывается клапан, и жидкость перетекает обратно в емкость насоса.
Несмотря на всю простоту, такие модели считаются универсальными, так как используются для самых разных видов работы.
Преимущества гидравлических домкратов
- Значительный КПД – до 0,8.

- Плавный ход штока.
- Возможность перемещения значительных грузов (в пределах 2 – 200 т).
- Прочность конструкции.
- Простой ремонт. Как правило – очистка от попавших внутрь твердых фракций и замена (при необходимости) РТИ.
Недостатки
- Ограничение по высоте подъема (зависит от длины штока). Хотя есть и домкраты специальные, способные поднять (и удерживать) груз на несколько метров.
- Инерционность жидкости, и как следствие, невысокая скорость операций.
- Особые условия транспортировки и хранения – только в вертикальном положении.
- Необходимость регулярного контроля рабочей жидкости.
Домкрат гидравлический: устройство и принцип работы
Всем известно очень удобное и полезное устройство, которое незаменимо при необходимости поднятия какого-либо объекта. Его называют домкратом. Этот агрегат в силу своих свойств получил очень широкое распространение в различных видах деятельности и в связи с этим имеет массу разновидностей.
<< Гидравлические домкраты
Видовые различия домкратов
На сегодняшний день миру известны такие модификации домкратов:
- Бутылочный.
- Подкатный.
- Зацепной.
- Ромбовый.
- Гибридный.
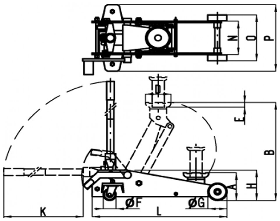
Гидравлический домкрат бутылочного типа используют на стройке, а также при проведении ремонтных работ автомобильного транспорта. Его грузоподъемность составляет диапазон в 2-100 т. В своем достаточно несложном устройстве имеет:
- основной поршень;
- шток;
- рабочую камеру;
- всасывающий и запорный клапаны;
- маслобак;
- рычаг.
Во время работы такого домкрата поднятие поршня осуществляется за счет давления в одном из двух резервуаров, возникшем при перекачивании рабочей жидкости между ними. В зависимости от количества штоков (2 или 1), домкрат может функционировать разносторонне или же только вертикально. Последний зачастую используется для подъема транспортных средств, таких как грузовые авто и микроавтобусы.
Подкатный домкрат пользуется популярностью у крупных СТО, поскольку имеет главное преимущество – возможность подката практически под любую машину за счет малой высоты своей конструкции. Он имеет вид обыкновенной тележки – гидравлического привода на раме с колесиками. Домкрат состоит из:
- несуще-упорной основы;
- рукоятки и ее держателя;
- защитного кожуха;
- клапана выпуска.
Особенность подкатного гидравлического домкрата также заключается в том, что ось цилиндра может быть как вертикальна, так и соединена с рычагом.
Зацепной гидравлический домкрат поднимает грузы низкой посадки (некоторые автомобили). Минимальная высота подхвата может составлять всего 1,5 см.
Домкрат ромбового типа имеет 4 рычага шарнирного соединения, которые вместе образуют ромб. Такие агрегаты компактны, легкие и очень удобные. Поднимают грузы весом до 2 т.
Гибридный тип сочетает в себе бутылочный и подкатный домкраты.
Контролировать его можно рычажно-педальным способом. Часто может иметь 2 рабочие платформы.
Устройство и принцип действия гидравлического домкрата
Не зависимо от того, к какому типу относится гидравлический домкрат, в своем устройстве он имеет рабочую жидкость, поршень и корпус. Затем уже идут различия таких устройств, заключающиеся в длине корпуса, характера воздействия на него (ручной, педальный или автоматический).
Функционирование домкрата главным образом обеспечивается работой связанных между собой магистралей. Поочередность действий такова: домкрат ставится на ровную поверхность, ему обеспечивается устойчивость, зажимая специальным рычажным механизмом. При этом клапан закрыт. По достижении домкратом необходимой высоты пользователь останавливает процесс подъема. при необходимости снижения следует повернуть клапан против часовой стрелки. Перекачка масла под воздействием поднимающегося поршня производится за счет специального рычага. При этом нагнетательный клапан и клапан всасывания препятствуют обратной течи жидкости.
Такой тип работы характерен для домкратов всех типов.
Преимущества домкрата гидравлического
На фоне других разновидностей домкратов гидравлический тип может похвалиться такими неоспоримыми достоинствами, как:
- Надежность конструкции.
- Устойчивость.
- Простота в использовании.
- Высокий уровень грузоподъемности.
- Универсальность.
- Удобные размерные параметры.
- Плавность движения и четкая остановка.
- Высокий КПД (более 80%).
- Неприхотливость к различным условиям работы.
Из всего указанного выше следует, что гидравлический домкрат пользуется высоким спросом благодаря отсутствию необходимости в дополнительных источниках питания, развитию существенного усилия при малом собственном весе и компактных габаритах, возможности опускать/поднимать грузы на различную высоту и фиксировать их. Основные механические элементы домкрата изготовлены из износостойких сплавов, выдерживающие существенные нагрузки.
Наличие перепускного страховочного клапана позволяет регулировать рабочую нагрузку в необходимом диапазоне, что продляет срок эксплуатации устройства.
Работа осуществляется и при высоком уровне давления, и при этом остается оптимальное соотношение весовых и габаритных характеристик. Сроки эксплуатации большие, и надежность использования высокая.
Устройство гидравлических домкратов возможно подобрать индивидуально, так сегодня множество фирм выпускают гидравлические домкраты самых разных характеристик и типов. Также существует ряд домкратов эконом класса. Такие домкраты рассчитаны на не частое использование, до 100 циклов.
При выборе гидравлического домкрата следует обращать внимание на такие особенности:
- грузоподъёмность;
- высота подъёма;
- высота подхвата;
- устойчивость;
- рабочий ход;
- наличие кейса для хранения.
Авторемонтные работы рекомендуется проводить на ровной поверхности. Перед подъёмом автомобиль следует поставить на ручной тормоз и заблокировать колёса.
Подъём транспортного средства гидравлическим домкратом должен осуществляться только при наличии большого запаса по грузоподъёмности.
Если вы выбрали домкрат из нашего каталога, но у нас он не в наличии, компания «Hydrolider» в скорейшем времени доставит вам нужное наименование под заказ.
Устройство бутылочного гидравлического домкрата — Гидравлика и гидропривод
Привет всем чипмейкерам. Начитавшись тем на форуме, захотелось сделать мне пресс из домкрата. Купил домкрат Vitol 10тонн. Так как штатный режим работы меня не устраивал, пришлось переделывать домкрат для работы вверх ногами. С гидродомкратами столкнулся впервые в жизни. Хочу сказать спасибо автору тему Vitek_s_Pitera за собственно тему и личные практические советы по переделке домкрата!
И так, зажав с товарищем домкрат в мощные станочные тиски, газовым ключом №5 открутили верхнюю гайку. Решил вкрутить металлическуб трубку, для этого нужно было нарезать резьбу М5 в масловсасывающем отверстии. Трубку взял от компрессора холодильника, нарезал резьбу М5.

Еще раз Vitek_s_Pitera спасибо за помощь! Удачных всем желающим переделать домкрат переделок!
Изменено пользователем pufik150Гидравлический домкрат: описание, виды, правила использования
Во многих областях деятельности возникает необходимость поднятия и удержания грузов на определённой высоте. Часто вес этих грузов превышает возможности человека. Поэтому для решения таких задач применяют различные виды домкратов, в том числе и гидравлический домкрат. Большую популярность они приобрели в различных отраслях промышленности. Их активно применяют в машиностроении, строительстве, сельском хозяйстве, автомобильном сервисе, при решении различных хозяйственных и бытовых задач, включая нужды автомобилистов.
Гидравлический домкрат – описание
Гидравлические домкраты можно назвать незаменимыми механизмами при проведении самых различных работ. Подобный инструмент предназначается для подъема тяжелых объектов на небольшую высоту. Устройство гидравлического домкрата довольно простое, за счет чего обеспечивается длительный срок службы. Рассматриваемое грузоподъемное устройство характеризуется определенными качествами, которые нужно учитывать при его выборе и ремонте. Рассмотрим подробнее устройство и принцип действия гидравлического домкрата, особенности эксплуатации, классификацию и обслуживание подробнее.
Принцип работы
Устройство гидродомкрата позволяет быстро поднять различные объекты, вес которых может достигать несколько тонн. Принцип работы подкатного гидравлического домкрата можно охарактеризовать следующим образом:
- Для подъема груза первым делом нужно оказать воздействие на рычаг.
При этом передаваемое усилие невысокое, оно способно создать требующееся давление для открытия клапана. - После открытия клапана жидкость из накопительной камеры попадает в рабочую. При отсутствии давления на момент подъема рычага клапан закрывается, исключая вероятность обратного тока масла.
- При наполнении рабочей камеры происходит постепенный подъем поршня. Стенки цилиндра рассчитаны на нагрузку, которая прямо пропорциональна весу поднимаемой конструкции.
Для того чтобы поршень вернулся в нижнюю точку требуется открыть запорный клапан. Оказываемое давление на конструкцию приведет к тому, что масло будет выдавлено в накопительную камеру. Работает гидравлический домкрат по закону Паскаля, поршень некоторых приводится в действие не рычагом, а другим механизмом.
В заключение отметим, что подкатная конструкция характеризуется наличием специальной подвижной опоры.
За счет этого механизм можно быстро разместить под автомобилем или другим объектом. Основная часть также представлена бутылочным домкратом, который рассчитан на большую нагрузку.
Классификация
Современные гидравлические домкраты целесообразно классифицировать по следующим показателям: области применения, техническим характеристикам и типу (форме) конструкции. Область применения предъявляет требования к техническим характеристикам и форме конструктивного исполнения.
К техническим характеристикам следует отнести:
- грузоподъёмность;
- максимально допустимая высота подъёма заданного груза;
- геометрические размеры самой конструкции;
- допустимому усилию на привод, создаваемому домкратом;
- виду подключённого привода. Обычно применяют два вида или механический, или электрический;
Конструкция гидравлического домкрата определяется поставленными задачами.
В основном они бывают следующих видов:
- Наиболее распространённый, так называемый бутылочный гидравлический домкрат.
- Для увеличения высоты подъёма применяется телескопический домкрат. У него в качестве рабочего штока применяется выдвигающийся телескопический поршень.
- Для повышения грузоподъёмности в конструкцию домкрата включают второй поршень. Такие домкраты называются двухштоковыми.
- В автомобильных сервисных центрах, на складах, где необходимо производить подъём груза с малой высоты применяются так называемые .
Плюсы и минусы
Сфера применения гидравлических домкратов охватывает многие области деятельности – от бытового применения до строительства многотонных сооружений. В первую очередь это автосервис, где широкое применение получили ромбовые и подкатные домкраты. Широкое применение данный тип устройств получил при монтаже и ремонте промышленного оборудования, установке металлоконструкций. Используются грузоподъёмные домкраты и в строительстве, в частности при ремонте и реконструкции зданий.
Если говорить в целом, то гидравлический домкрат применяется везде, где необходимо обеспечить подъём или перемещение тяжелого груза и его продолжительную фиксацию.
Основными преимуществами гидравлического домкрата являются:
- высокая грузоподъёмность;
- коэффициент полезного действия порядка 80%;
- небольшое рабочее усилие;
- плавный ход и точное позиционирование, не зависящее от шага витка винта;
- высокая жесткость конструкции.
Основные недостатки – сравнительно большая высота штока, что затрудняет работу с грузами, имеющими низкий клиренс, а также сложность обслуживания и ремонта.
Как выбрать
Из видового многообразия и характеристик грузоподъемности выбрать иногда довольно сложно. Существуют базовые вопросы, на которые нужны ответы до приобретения подъемного механизма:
- Какой максимальный вес нужно поднимать?
- Где будет размещаться агрегат? Какой площадью для хранения располагаете?
- Как часто будете пользоваться?
Основные свойства для выбора модели:
- грузоподъемность;
- высота поднятия и захвата;
- рабочий ход;
- опорная площадка;
- универсальность;
- вес и мобильность;
- цена;
- гарантийный срок.

Причины поломки
Естественно, что, как и любая техника, гидравлический домкрат требует определенного обслуживания, в которое входит доливка масла и визуальный осмотр. А через определенное время делается его промывка и полная замена масла с прокачкой.
Чаще всего у гидродомкрата выходят из строя прокладки и сальники, по этой причине начинает подтекать масло из рабочей емкости. Кроме этого, может возникнуть такая неисправность, как заклинивание штока при его обратном ходе.
Чаще всего у гидродомкрата выходят из строя прокладки и сальники, по этой причине начинает подтекать масло из рабочей емкостиЧасто встречающиеся поломки:
- Остановка подъемного поршня. Может быть, из-за отсутствия масла или засорение фильтра. Чтобы выяснить причину остановки, следует разобрать механизм, промыть его и залить свежую жидкость.
- Поршень не поднимается совсем. Скорее всего, отсутствует жидкость в резервной емкости домкрата.
- Поршень выдвигается медленно или рывками.
В рабочем отделении устройства присутствует воздух. В таком случае нужно долить масла в подъемник и произвести его прокачку. - Слабое давление на поршень. Нужно отремонтировать либо заменить впускной клапан.
Практически все причины отказа работы подъемника можно обнаружить и отремонтировать после его разборки. Но если неисправность возникла по причине механического повреждения корпуса домкрата или его поршня — лучшим вариантом будет его списание и приобретение нового инструмента.
Рекомендации по эксплуатации
После окончания использования домкрат необходимо освобождать от нагрузок. Хранить устройство надо в теплом, и сухом месте. Из-за попадания лишней влаги механизм может заржаветь, а холод негативно скажется на качестве масла. Рекомендуется не работать с домкратом на сильном морозе. Нагрузки на устройство не должны превышать те, на которые он рассчитан.
Необходимо следить за качеством рабочей жидкости — в некоторых мастерских могут заливать переработанное или некачественное промышленное масло.
Это приведет к быстрой поломке и загрязнению домкрата. При постоянном использовании прокачка (замена масла) должна проводиться раз в 2–3 месяца. При редком использовании — раз в полгода. Таким образом, в случае поломки гидравлического домкрата необходимо проверить 3 составляющие:
- Качество и количество жидкости.
- Наличие пузырьков воздуха в системе.
- Загрязнение, неплотное прилегание клапанов.
В большинстве ситуаций для решения всех проблем с устройством достаточно провести чистку и заменить масло.
устройство и принцип работы, выбираем низкий, горизонтальный, с подхватом и другие модели гидродомкратов
Работа с автомобилем и подъем других грузов не могут обходиться без домкратных устройств. Чтобы не было проблем, нужно правильно выбрать подходящую модель. И потому так актуально знать все о гидравлических домкратах, об их особенностях и нюансах применения.
Описание
Устройство и строение гидравлического домкрата сравнительно просты. Эти приборы имеют универсальное назначение, могут применяться в самых разных сферах, для различных работ и манипуляций. Общая простота системы повышает ее надежность. Корпус любой модели изготавливают из крепкого, надежного сплава специальной рецептуры. Важным свойством такого сплава является его стойкость к коррозии.
Рабочая камера гидродомкрата имеет зеркальную поверхность. Поршень собирают из нескольких составных элементов. Для ограничения перемещения жидкости применяют особый клапан.
А начать перемещение масла помогает ручной либо автоматический механизм.
Модели с лапой отличаются от обычных тем, что рассчитаны на низкий подхват.
Принцип работы
Чтобы понять схему действия гидравлического домкрата, необходимо сначала обратить внимание на жидкость, которая внутри него работает. Там используются масла с пониженным уровнем вязкости. В них не должно содержаться даже следовых количеств воды.
Когда работает насос, специальная жидкость поступает в резервуар с крупным цилиндрическим пазом. Стенки емкости плотно облегает подвижный шток, который является частью поршня. Согласно физическим законам, при переполнении емкости маслом оно начинает сдавливать все прилегающие части устройства. Корпус и клапан рассчитаны на сопротивление огромному давлению. Потому единственным вариантом развития событий оказывается вытеснение поршня кверху.
Так как сжимаемость масла очень мала, поршень будет удерживаться на его поверхности столь же крепко, как и на асфальте.
Изображение гидравлического домкрата в разрезе приведено на рисунке.
Отдельные гидродомкраты используются для натяжения арматуры. Но они могут быть предназначены и для решения ряда других задач (в зависимости от мощности и характеристик):
- поднятие автомобилей и иного транспорта;
- сжатие очень тугих и мощных пружин;
- соединение частей строительной конструкции на высоте;
- ремонтные работы;
- прочие ситуации, когда нужно работать с тяжелым грузом, длительно зафиксировав его.
Виды
Рассмотрим наиболее распространенные виды гидравлических домкратов.
Горизонтальный
По большей части такое устройство имеет винтовое исполнение. Салазки снабжаются специальным винтом. Общая грузоподъемность может достигать 15000 кг. Подобные аппараты применяют в единичных случаях, когда есть повышенные требования. В основном горизонтальный домкрат используют водители массивных автомобилей. Для легкового транспорта повышенная грузоподъемность не нужна.
Ручной
Владельцы автомобилей также обращают внимание и на ручные модели. Они устроены сравнительно просто. Цена готового изделия довольно мала и устроит большинство покупателей. Надежность инструмента гарантирована, но только при сравнительно малой нагрузке. Попытки поднять что-то очень тяжелое не увенчаются успехом.
Кабельный
Такой вид домкратов в автохозяйствах не используют.
Уже само его название подсказывает, что с помощью подобных приборов поднимают кабельные барабаны. Ось инструмента проходит через среднее отверстие барабана. Зазор между «щекой» и поверхностью установки стоек чаще всего составляет 0,05-0,1 м. В основном такие устройства используют, когда нужно смонтировать или перемотать кабель.
Другие
Довольно широко распространен масляный подтип гидравлического домкрата. Внутрь могут заливать масла, предназначенные для гидросистем автомобилей. Но подбирать их придется тщательно, учитывая свойства конкретных веществ. В некоторых случаях используют стандартные промышленные масла.
Тормозную жидкость использовать нельзя.
Стаканный или бутылочный гидроподъемник делится на два сообщающихся сосуда различного сечения.
Это проверенная, классическая схема. Внутри устанавливают плунжерный насос. Именно такие устройства часто покупают в домашний гараж для кузовных работ. Но если их производительности не хватает, надо приобретать профессиональный промышленный грузовой домкрат.
А иногда еще используют плоские модели. Их основной рабочий орган делится на 2 «тарелки». Они соединяются по контуру. Для подсоединения к гидравлической системе используются специальные штуцеры. Верхняя и нижняя плита соединяются особыми направляющими. Такие системы могут поднимать груз равномерно, без резких движений. За обратный ход отвечают винтовые детали. А вот для домашнего применения более привлекательны подъемники мини. Такие и мебель поднимут, и в ремонте помогут, и на строительстве пристройки пригодятся.
Но обязательно надо упомянуть еще и о моделях с выносным насосом.
Ярким примером такого устройства является TOR HHYG. Грузоподъемность может составлять от 2 до 200 тонн. Можно применять это оборудование и на строительстве, и в автохозяйствах, где работают с тяжеловесным автотранспортом. Выносная схема устойчивее, она позволяет ставить аппарат даже на неровное основание. Трехштоковый домкрат — один из подвидов бутылочной схемы.
Подобное исполнение отличается большой высотой подъема. При этом наличие сразу трех штоков гарантирует сравнительно небольшие общие габариты. Перевозить и хранить такие устройства довольно удобно. Длинноходный вариант в целом отличается повышенной функциональностью. А вот версии с коротким ходом редко себя оправдывают.
Термин «тянущий домкрат» говорит сам за себя. Он не только поднимает грузы, но и создает тянущий импульс. Такую технику используют, чтобы соединять судовые корпуса.
Пригодится она и для соединения иных металлоконструкций, которые планируется сваривать. Разумеется, практически все виды подъемников могут делаться с манометром.
Это обеспечивает более эффективный контроль над внутренним давлением в приборе, потому легче будет регулировать усилие, создающееся на штоке.
Это автономный и весьма практичный в повседневной жизни аппарат. Он может пригодиться для взвешивания даже довольно тяжелых грузов. А домкрат двусторонний с полым штоком становится отличной частью прессовых машин и других приспособлений в промышленности. Его можно использовать при прессовке и выпрессовке отдельных деталей, натяжении арматуры и канатов.
Приводом для такого подъемника может выступать:
- ножной;
- ручной;
- электрический насос.
Важно: подавляющее большинство моделей (в том числе универсальные и стационарные домкраты) делается с подвижной плитой.
Но внимания заслуживает и стоечный тип. Он подразумевает использование 1 или 2 винтов.
Такое устройство позволит поднять до 3000 кг. Недостатком подобной схемы является только значительная масса домкрата.
В клиновой системе все, кроме самого привода, выполнено чисто механически. Вращение винта передвигает особый клин по горизонтали. Это универсальное и довольно надежное техническое решение. Разумеется, любой домкрат стараются купить с маслостанцией. Модификации со станцией для заливки масла наиболее практичны и удобны, они позволяют оптимизировать заправку техническими жидкостями.
Но если заглянуть в самый обычный гараж, то там можно увидеть еще и ножничный домкрат. Особенность исполнения — пара диагональных блоков из металла. Их расширение и сжатие происходят точно так же, как в домашних ножницах.
С помощью такой техники иногда поднимают только один угол транспортного средства. Однако на этом возможные варианты не заканчиваются.
Есть, например, модификации с фланцевым креплением. Они уже в базовой комплектации содержат гайку со специальным фланцем. Цилиндрический домкрат — просто распространенная форма. Что-то большее сказать о нем вряд ли можно. В принципе, его можно использовать и для гаражного крана.
Некоторые энтузиасты и вовсе покупают старые танковые подъемники. Они отличаются повышенной надежностью и рассчитаны на подъем нескольких десятков тонн груза. Это то, что нужно для работы с тяжеловесным транспортом или на крупном строительстве. Но во многих случаях правильнее использовать классическую трапецию. Да, она не обеспечит высокого подъема, но с основной функцией справится все же неплохо.
Обзор моделей
Говоря про лучшие маленькие конструкции домкратов, стоит обратить внимание на модель «ДН30П14». Низкий грузовой механизм выполнен по односторонней схеме. Возврат штока обеспечивается специальной пружиной. Его ход достигает 1,4 см. Предельная грузоподъемность устройства производства России равна 30000 кг.
Прочие технические параметры:
- подхват на высоте 58 мм;
- вместимость масляного резервуара – 0,58 л;
- собственная масса – 3,94 кг.
Аппарат пригоден для работы в ограниченном пространстве. Его можно применять при выравнивании мостовых пролетов. Наибольшее гидравлическое давление — 70 МПа. Допустимые температуры – не ниже -15 и не выше +50 градусов. Домкрат покрывают стойкой порошковой краской.
Полезно бывает присмотреться и к высоким, длинным подъемникам.
Например, к модели «Ульяновск УРД-01_1т». Это приличное по качеству надежное устройство для полевой работы с автомобилем. Где бы ни возникли проблемы, починка существенно упрощается. Наибольшая грузоподъемность — 1 т, а наибольшая высота поднятия — 0,41 м.
При выборе вертикальных домкратов по характеристикам стоит присмотреться к модификации KRAFTOOL KRAF-43463-4. Двухштоковый механизм имеет бутылочное исполнение. Он поднимает до 4000 кг груза. Наименьшая высота захвата — 0,17 м. Груз будет поднят до 0,42 м.
В рейтинг лучших домкратов заслуженно попадают еще и модели на колесах. К примеру, 3Т Gigant HTJ-3.
Он оснащается опорной зазубренной чашей, потому груз фиксируется надежно, срыв совершенно исключен. Важно: производитель рекомендует применять свою разработку в связке со страховочной подставкой, чтобы сократить опасность травмы. Специальное покрытие уменьшает риск коррозии.
Прочие особенности:
- подхват на высоте 0,135 м;
- поднятие на высоту 0,4 м;
- общая масса – 16,7 кг;
- суммарная грузоподъемность – 3000 кг;
- рукоять для поворота и кейс отсутствуют.
Стоит подумать и о покупке фирменных китайских домкратов модели «Сорокин FrogLine Jack 3.432». Суммарная загрузка достигает 3500 кг. Модель может быть применена в шиномонтажных центрах и на различных СТО. Масса нетто – 38 кг. Подхват происходит на высоте 0,135 м, а подъем идет до высоты 0,495 м.
Еще можно рассматривать JET 8,0 т JBJ-8 JE655558.
Этот бутылочный домкрат применяют и в горизонтальном, и даже в перевернутом положении. Он поднимет до 8000 кг груза. Ход штока достигает 0,125 м. Масса домкрата — 6 кг.
Также хорошими гидравлическими приспособлениями можно считать:
- Ombra OHT150;
- Stels 51133 Quick Lift;
- Matrix Master 51035;
- Kraft KT 800115.
Как выбрать?
Модификаций гидравлических домкратов очень много, поэтому нужно внимательно выбирать устройство, в первую очередь отталкиваясь от собственных потребностей. Так, для тяжеловесных грузовых автомобилей оптимальным выбором может стать бутылочное устройство. Использовать другие конструкции тоже можно, но уже тогда, когда есть четкое понимание, зачем именно они необходимы.
Стоит учесть, что у бутылочного подъемника высота поднятия не превышает 0,5 м.
Довольно удобным решением может стать подкатной домкрат. Правда, он весьма громоздок. Масса таких моделей иногда достигает 10-40 кг. Ставить их можно лишь на ровных твердых площадках. Потому такие изделия востребованы в основном в автосервисах и официальных ремонтных службах.
Обязательно надо учитывать грузоподъемность. Оптимальная ее величина определяется просто: к паспортной снаряженной массе добавляют 100-300 кг, чтобы компенсировать дополнительную загрузку. Если нужно менять колесо, достаточно подъема на 0,3-0,5 м. Для более серьезных ямных работ высота должна быть больше. Очень малая высота подхвата нужна для машин с низкой посадкой, клиренс у которых составляет менее 0,1 м.
Если планируется работать на дачном участке, можно ограничиться бутылочным гидродомкратом с несущей способностью до 10000 кг. Более мощные варианты нужны для профессиональных строительных бригад. Но можно выбирать и подкатной гидравлический аппарат с тем же ограничением по грузоподъемности.
А вот модели с винтовым механизмом иногда поднимают до 50000 кг. Чтобы точно определиться с этим параметром, нужно порой обращаться к профессионалам.
Как пользоваться?
Как уже говорилось, заправлять гидроподъемник можно только строго определенными жидкостями.
Лучше всего только теми, что указаны в инструкции. Перед тем как начать работу, надо точно убедиться, что нагрузка и высота подхвата соответствуют норме. Хранение домкрата должно происходить только в специально отведенных сухих, чистых и теплых местах. В багажнике машины его ставят только на предусмотренное производителем автомобиля место.
Опустить гидравлический домкрат какой угодно конструкции несложно. Надо только поднять его до того уровня, который позволяет вытянуть устройство наружу. Если надо поднимать машину, ее ставят на ручном тормозе, а остающиеся на земле колеса блокируют. Точка установки домкрата под кузовным порогом зависит от того, что конкретно планируется поднять.
Важно: когда используют подкатное устройство, одновременно с подъемом плунжера оно должно постепенно подкатываться под днище машины.
Некоторые конструкции можно использовать вверх ногами.
Но только в том случае, когда это прямо оговорено в инструкции.
Категорически недопустимо:
- упирать подъемник в бампер;
- делать что-то под кузовом машины, которую ничто, кроме домкрата, не держит;
- поднимать машину, сцепленную с прицепом;
- работать на проезжей части;
- использовать зажигание и заводить мотор в поднятом авто;
- подпирать его кирпичами, камнями.
Периодическое обслуживание домкрата нельзя сводить к его механической очистке (хотя и это, понятное дело, очень важно). Гидравлическое масло надо доливать своевременно. А периодически его еще и меняют. Чем интенсивнее работает само устройство и его насос, тем чаще нужна замена.
Смешивать разные составы, даже подходящие по отдельности, нельзя.
Часто проблемы создает накапливающийся внутри гидроцилиндра воздух. Выгнать его можно, открыв клапан перепуска и открутив крышку для залива масла. Далее делают несколько быстрых нажатий на рукоятку. Насос прокачает жидкость, и воздуха внутри не будет.
Все трущиеся детали систематически покрывают консистентной смазкой. А если дополнительно проверять устройство на протечку масла, то проблем точно не будет.
Домкрат гидравлический бутылочный представлен на видео далее.
устройство, как прокачать своими руками и принцип работы
Гидравлический домкрат устройство и принцип действия имеет на основе физических свойств жидкостей, сохраняющих свой объем в процессе сжатия.
Гидродомкрат представляет собой переносное грузоподъемное устройство, предназначенное для тяжелых предметов.
Назначение гидравлического домкрата
Гидродомкрат — это стационарное, переносное или передвижное грузоподъемное устройство, предназначенное для тяжелых предметов. Применяется при выполнении ремонтно-строительных работ и в составе кранов, прессов, подъемников.
Современные конструкции гидравлических устройств используются на предприятиях нефтеперерабатывающей промышленности, объектах энергетического сектора промышленности, в сельском хозяйстве. Высокий уровень производительности и показатель КПД, легкость в работе и обслуживании позволяют применять гидродомкраты в бытовой сфере.
Этот тип оборудования способен с легкостью функционировать как в горизонтальном, так и в вертикальном положениях, что нашло свое применение на площадках для проведения монтажно-строительных работ. Агрегат используется для натяжения арматурных конструкций, изготовленных из напряженного бетона.![]()
Конструкция гидравлического устройства подъема
Агрегат устроен следующим образом:
- корпус;
- рабочая жидкость;
- рабочий поршень.
Конструкция устройства может иметь удлиненный или короткий корпус, для изготовления которого применяется закаленная специальная сталь. На корпус устройства возложено выполнение нескольких функций. Он является направляющим цилиндром для рабочего поршня и служит резервуаром для хранения рабочей жидкости.
Винт с подъемной пятой способен по специальной резьбе вворачиваться в плунжер. Осуществляя его выкручивание, можно изменить максимальную высоту подъема пяты домкрата. Гидравлические устройства оснащаются рабочими насосами, имеющими ручной, ножной или воздушный привод. Конструкция предусматривает установку клапанов безопасности и некоторые конструктивные элементы, обеспечивающие длительную и безаварийную работу подъемника.
Гидравлический насос и цилиндр с поршнем устроены так, что обеспечивают выдвижение и подъем специальной площадки.
После выдвижения штока возврат в начальное положение осуществляется при помощи использования перепускного клапана.
Существует несколько различных модификаций подъемных гидравлических агрегатов, которые имеют свои сферы применения.
Наиболее распространенными являются:
- устройства бутылочного типа;
- устройства подкатного типа;
- гидравлические домкраты гибридной конструкции;
- агрегаты зацепного типа;
- ромбовые агрегаты.
Различные конструкции гидродомкратов имеют свои особенности в устройстве, которые обусловлены областью применения приспособления.
Каждый из типов гидродомкратов сконструирован по-своему, однако, принцип функционирования у всех одинаковый.
Принцип работы гидравлического домкрата основан на применении в конструкции аппарата сообщающихся сосудов с рабочим телом, роль которого выполняет специальное масло.
Перед использованием устройство требуется разместить на ровной твердой поверхности и закрыть перепускной клапан.
После установки и подготовки агрегата можно использовать его в работе.
Подъем штока с пятой осуществляется при помощи насоса, нагнетающего рабочую жидкость в специальный цилиндр.
За счет свойства жидкости противодействовать сжатию при повышении давления происходит перемещение поршня в рабочем цилиндре. Это приводит к движению штока с подъемной пятой. Спуск последней происходит при помощи открытия перепускного клапана против часовой стрелки.
Перекачивание рабочего масла осуществляется приводным насосом и рычагом, установленным на нем. Масло перемещается из насоса в рабочий цилиндр через специальный клапан.
Возврату жидкости в процессе работы аппарата препятствуют два клапана: нагнетательный и всасывающий.
Для установки подъемника в исходное положение в его конструкции предусмотрен специальный клапан, при открытии которого происходит перетекание рабочей жидкости из цилиндра в насос агрегата.
Наличие в устройстве домкрата выкручивающегося винта под рабочей пятой позволяет расширить возможности применения устройства.
Для осуществления подъема специальная пята изготавливается из высокопрочной стали. Усилие гидродомкрата регулируется при помощи встроенного манометра.
Достоинства и недостатки гидродомкратов
Физические особенности жидкости позволяют осуществлять плавное поднятие, опускание груза и фиксировать его на определенной высоте. Гидродомкраты обеспечивают высокий показатель КПД, который достигает 80% . Грузоподъемность агрегата обусловлена наличием большого передаточного отношения между показателями поперечного сечения насосного и рабочего цилиндра, плунжера.
Необходимо регулярно проводить промывку гидродомкрата, а также замену масла и прокачку.
Гидравлические подъемники имеют ряд недостатков. В первую очередь следует отметить, что любая модель этого оборудования имеет определенную стартовую высоту подъема груза, ниже которой устройство эксплуатировать невозможно. Недостатком этого оборудования является также отсутствие возможности точной регулировки высоты опускания.
Для того чтобы обеспечить бесперебойную работу приспособления, рекомендуется постоянно следить за чистотой, качеством и уровнем масла в резервуаре домкрата. Нормальная работоспособность устройства обеспечивается герметичностью клапанов и сальников, используемых в конструкции агрегата. Транспортировка и хранение аппарата производится исключительно в вертикальном положении, при нарушении этого требования рабочая жидкость способна вытечь из резервуара устройства.
Одним из недостатков является медлительность агрегатов в работе. К минусам относится также вес устройства, его большой размер и высокая стоимость. Помимо этого одноплунжерные устройства имеют небольшой ход рабочего штока, что является еще одним недостатком.
Возможные неисправности в работе гидродомкрата
Гидравлические домкраты в любом случае требуют ухода и обслуживания, которое заключается в проведении доливки масла в рабочий резервуар агрегата. Помимо этого, через определенное время эксплуатации требуется проводить промывку приспособления, замену масла и прокачку.
Масло из рабочего резервуара способно подтекать через сальники и различные уплотнения, используемые в конструкции устройства. Кроме подтекания при эксплуатации приспособления могут возникать такие неисправности, как заклинивание при осуществлении поднятия и невозможности опускания штока.
Для устранения подтекания масла в процессе функционирования приспособления осуществляется замена уплотнителей и сальников. Для этой цели применяются специально разработанные ремкомплекты. В процессе ремонта проводится разборка агрегата, замена уплотнителей, сборка гидродомкрата, после чего проводится заправка рабочей жидкостью и прокачка.
Для устранения заклинивания проводится разборка устройства и осмотр его комплектующих на предмет коррозии и загрязнения. В случае выявления первой проводится специальная обработка, а грязь вымывается.
Домкрат – один из важнейших инструментов в арсенале, он поможет везде: ремонт машины или техники, проведение разнообразных строительно-ремонтных работ.
И если вдруг ваше устройство по каким-либо причинам вышло из строя, вам нужно узнать, как провести ремонт гидравлического домкрата своими руками!
Порадует и широкое разнообразие домкратов, каждый из которых имеет свои особенности и отличительные черты.
- Самым известным является механический, главным плюсом которого считается низкая стоимость. Дополнительными достоинствами являются: небольшой вес, высокий уровень подъема и быстрый рабочий ход. Среди недостатков отмечают маленькую площадь опоры, что приводит к небольшой устойчивости.
- Следующий тип – электрическое оборудование, работает от электропроводки машины, а управляют домкратом с помощью небольшого блока. Грузоподъемность устройства достигает 2-х тонн, а вот к минусам относят большую массу устройства и ручное опускание, что требует немало времени.
- Есть еще и , который работает от сжатого воздуха либо компрессора. К преимуществам стоит отнести малый вес, снижение затрат на проведение работ, большую площадь опоры.

- Но больше внимания мы уделим гидравлическому домкрату, ведь именно эту модель чаще всего используют не только при ремонте автомобиля, но и во время проведения строительных работ, включая работу с железобетоном и арматурными конструкциями. Они способны демонстрировать максимально высокие показатели, ведь КПД устройства достигает 80 %, а грузоподъемность составляет около 200 тонн, в зависимости от модели. К сожалению, не обойтись и без сложностей. Например, нельзя точно отрегулировать высоту отпускания, а потому следует заранее изучить инструкцию по эксплуатации инструмента. При работе, чтобы не довести домкрат до поломки, желательно следить за состоянием сальника, клапанов и наличием масла . Да и транспортировать инструмент нужно с умом – только в вертикальном положении, чтобы топливо просто не вытекло через клапан.
Как и любая техника, которая несет огромные нагрузки, устройства могут часто ломаться, а потому всегда нужно знать о том, как проводят ремонт домкрата самостоятельно.
Чтобы в момент поломки быть во всеоружии!
Существуют и некоторые другие моменты, включая необходимость заменить масло. Однако любой ремонт проводится практически по одной схеме. И первое, что вам нужно знать – как разобрать устройство, после чего можно приступать к замене жидкости. Разборка инструмента осуществляется в следующем порядке:
- Используя гаечные ключи, откручиваем крепежи;
- Извлекаем клапан стравливания жидкости и поршень;
- Проводя грамотный осмотр, проверяем качество клапана и всех прокладок – если вы заметили, что они пришли в негодность, просто меняем элементы домкрата;
- Механизм прочищаем от мусора и других посторонних элементов, промываем цилиндр;
- Проверяем и меняем старую резинку в случае необходимости;
- Последний шаг – сборка инструмента в обратном порядке.
Естественно, после того, как вы соберете домкрат, его следует обязательно проверить на работоспособность! Если устройство начало работать – отлично, но не всегда с первого раза получается всё исправить.
Возможно, вся проблема в масле?
Масло – движущая сила устройства, именно оно давит на поршень, устанавливая шток в нужное положение. За счет этого осуществляется возможность поднимать практически любой груз. Если масла в устройстве будет недостаточно, механизм работать не будет. Многие, кто впервые приступают к ремонту, пропускают этот момент, что в итоге приводит к проблемам с работой домкрата. Инструкция по замене масла:
Как залить масло в домкрат — пошаговая схема
Шаг 1: Промывка механизма
Для того, чтобы заправить домкрат маслом, необходимо вначале открутить пробку и слить старую жидкость. Следующий шаг – очистка механизма с помощью промывочной жидкости, которую можно приобрести в любом строительном магазине. К слову, промыть домкрат полностью достаточно сложно, особенно новичку, ведь вам придется заливать жидкость как минимум два-три раза, после чего проводится прокачка, жидкость добавляется еще раз и снова прокачивается. Слив старого масла проводится точно также – чтобы внутри механизма не осталось и капли старой жидкости.
Шаг 2: Заливка масла
Емкость нужно заполнить маслом до конца, то есть пока жидкость не достигнет требуемой отметки. Домкрат при этом устанавливаем на низком положении. Для опускания штока в нижнее положение, обязательно поворачиваем винт-кран, пока он не достигнет положения «слив». Закрутив пробку, проводим прокачку в течение пяти раз, после чего добавляем масло и закручиваем пробку еще раз. Масла в процессе очистки будет не хватать каждый раз, а потому проводить прокачку нужно до тех пор, пока «топливо» нашего домкрата не достигнет требуемого уровня, а на поверхности жидкости перестанут появляться пузырьки.
Как вы убедились, ремонт домкратов своими руками – работа достаточно простая. Однако, конечно, не хочется доводить до ремонтных работ, ведь это требует и времени, и сил на осуществление. Именно потому мы составили для вас подборку рекомендаций от специалистов. Если вы будете соблюдать их, то эксплуатация вашего домкрата станет намного проще, да и ремонт можно «отодвинуть» подальше.
- Чтобы работы по смене масла прошли качественно и правильно, обязательно нужно снять любые нагрузки, а само устройство можно начать эксплуатировать только после того, как вы полностью закончите все работы и соберете домкрат;
- Заменять «топливо» желательно дважды в год, а если вы используете домкрат постоянно, то – минимум раз в месяц нужно осуществлять эти работы, при этом нужно обязательно промывать весь механизм каждый раз;
- Масло можно подобрать любое, однако если собираетесь использовать устройство в зимнее время года, обязательно применяйте синтетический раствор. Это позволит механизму всегда быть в «полной боевой готовности» к работе;
- Независимо от того, какое время года на улице, будет лучше, если инструмент вы сможете хранить в сухом и теплом месте, в обратном случае масло может просто замерзнуть;
- Если необходимо проводить работы в зимнее время года, помните, что слишком долгая работа на морозе может привести к поломке устройства, а потому эксплуатация домкрата возможна в самых крайних случаях и в течение короткого времени.

Если вы будете работать такими методами, то сможете существенно продлить срок службы домкрата. А дорогостоящий ремонт, который может обойтись вам в значительную сумму, можно «отложить» на неопределенный срок, что не может не радовать!
Многие автовладельцы, и не только они, задумываются над вопросом о том, как провести ремонт гидравлического домкрата своими руками без обращения в мастерскую.
Гидродомкрат представляет собой переносное грузоподъемное устройство, предназначенное для тяжелых предметов.
Домкрат — один из самых важных инструментов, без него не обойтись, например, при ремонте автомобиля. С помощью домкрата корпус машины поднимается на достаточную высоту, чтобы можно было провести ремонт.
Специфика работы и виды гидравлических домкратов
Одна из причин популярности гидравлических домкратов — устойчивость конструкции. Благодаря этому они способны поднимать больший груз, нежели механические. Грузоподъемность домкрата зависит от модели и может составлять до 200 тонн.
Гидравлический домкрат работает более плавно, точнее производится торможение. КПД работы этого инструмента гораздо выше, чем у механических моделей — до 80%.
Из названия понятно, что главная составляющая конструкции — специальная рабочая жидкость, которая воздействует на шток, и в результате он перемещается. В качестве рабочей жидкости используется масло, поэтому для работы устройства необходимо периодически оценивать состояние клапанов, сальников и всей системы в целом, проверять наличие масла.
По конструкции инструменты бывают:
- двухплунжерные;
- одноплунжерные.
Причины поломок домкрата
Использование качественной рабочей жидкости и регулярные проверки состояния гидравлического аппарата могут гарантировать его бесперебойную работу в течение достаточно долгого времени. Но от поломок не застрахованы даже качественные устройства.
Основных причин нарушения работы домкрата всего две:
- препятствие опусканию механизма;
- деформация штока.

В первом случае неполадки вызваны образованием ржавчины внутри устройства, которая начинает мешать свободному ходу механизма. На клапане и поршне могут стереться защитные элементы, прокладки либо шарики, что также вызовет заклинивание механизма.
Еще одна распространенная причина неполадок — неправильная эксплуатация. Гидравлические домкраты требуют особого обращения. В инструкции сказано, что перевозить их можно только в вертикальном положении, а это не всегда возможно. В итоге постепенно рабочая жидкость начинает вытекать, вместо нее внутрь устройства проникает воздух. Все это приводит к снижению эффективности работы домкрата, а затем и полной остановке работы гидравлики. Поломки, вызванные перечисленными выше факторами, легко отремонтировать самостоятельно.
Деформация штока часто возникает при постоянной эксплуатации прибора. Причина в превышении порога допустимой нагрузки. В этом случае шток деформируется и не проходит через муфту. Ремонт устройства при такой поломке предполагает замену штока.
Выравнивать старый деформированный шток бесполезно, так как он изготавливается из особой марки стали, пытаться придать ей форму в домашних условиях практически невозможно.
Обе причины поломок достаточно легко устранить, главное — знать основной принцип разборки и ремонта устройства.
Ремонт гидравлического домкрата
Перед тем как приступать к ремонту, нужно точно установить причину поломки. Для этого домкрат нужно разобрать. Так как все детали скреплены резьбовым соединением разного диаметра, придется использовать набор ключей различного размера. После того как устройство было полностью разобрано, нужно осторожно слить из него масло и хорошо осмотреть клапан и поршни.
Если на деталях скопилась ржавчина, ее необходимо очистить. Шток нужно тщательно проверить, есть ли изгиб. Защитные прокладки и кольца стоит заменить на новые, ведь их деформация и износ могут быть не видны, а качество стоит проверять при высоком давлении. После проверки все детали нужно хорошо промыть специальной жидкостью, желательно не один раз.
Домкрат остается прокачать, чтобы удалить лишний воздух и залить в него новое масло. Для заливки рабочей жидкости предусмотрена горловина с закручивающейся пробкой.
По виду привода различают гидравлические домкраты:
- с ручным приводом;
- с электрическим приводом.
Несмотря на то, что существуют разные виды этого инструмента, принцип работы одинаков для всех моделей.
После этого конструкция вновь собирается, а процесс ремонта домкрата считается завершенным. Остается только проверить качество работы инструмента. Если гидравлический домкрат работает нормально, значит ремонт завершен успешно. Если нет, придется продолжать искать неисправность. Чаще всего нормальному функционированию устройства может мешать некачественное или неправильно залитое масло.
Этапы заправки гидравлического домкрата
Этому этапу не всегда уделяют должного внимания, и совершенно напрасно. Рабочая жидкость является движущей силой устройства. Она воздействует на шток так, чтобы он становился в нужное положение.
Если масла недостаточно, домкрат нормально работать не будет.
Перед заливкой масла нужно в первую очередь слить старое. Затем «внутренности» инструмента тщательно промыть, используя промывочную жидкость. Приобрести ее можно в строительных магазинах. Промывка домкрата — процесс достаточно трудоемкий, особенно для новичка. Заливать жидкость придется не меньше двух раз, постоянно при этом прокачивая домкрат. Со старым маслом нужно поступать точно так же. Ни одна капля старой рабочей жидкости не должна остаться внутри инструмента.
Благодаря этим качествам, гидравлический домкрат получил распространение среди автолюбителей и работников автомастерских. Кроме того, он применяется и в других видах работ, например, в строительстве при подъеме арматурных или железобетонных конструкций. Более сложная конструкция гидравлического домкрата по сравнению с механическим приводит к тому, что его ремонт значительно усложняется, но при проведении ремонта можно обойтись без обращения к мастеру.
Чтобы правильно отремонтировать инструмент, нужно в общих чертах изучить принцип его работы.
Затем домкрат нужно установить на низкое положение. Для этого нужно повернуть винт-кран до отметки «слив». Пробка закручивается. Домкрат прокачивают пять раз, после этого можно заливать масло до тех пор, пока уровень не поднимется до специальной отметки. Затем пробка снова закручивается. Операция повторяется до тех пор, пока на поверхности не перестанут появляться пузырьки, а количество масла не достигнет установленного уровня.
Ремонт домкрата — процедура, скорее, трудоемкая, нежели сложная. И все же лучший ремонт — это профилактика возникновения поломок, ведь на их устранение придется потратить драгоценное время и силы. Если соблюдать рекомендации мастеров, можно существенно продлить срок безремонтной эксплуатации гидравлического домкрата.
Качество работы прибора во многом зависит от качества рабочей жидкости. Поэтому приобретать масло стоит только высококачественное, от надежных поставщиков и предназначенное специально для технического оборудования.
Вид масла может быть любой, но для бесперебойной работы прибора в зимнее время стоит дополнительно приобрести синтетический раствор.
В целом, использовать инструмент в холода не рекомендуется, разве что в экстренной ситуации и непродолжительное время, иначе возрастет риск возникновения неисправностей. Вне зависимости от сезона гидравлический домкрат должен храниться только в теплом месте, иначе устройство замерзнет и возникнет поломка. Если домкрат используется нечасто, то замену достаточно проводить раз в год. Но при постоянной эксплуатации проверять состояние насоса нужно каждый месяц, проводить замену масла и каждый раз промывать механизм.
Работы по смене масла нужно проводить только после того, как будет снята вся нагрузка. Использовать отремонтированный инструмент разрешается только после полной сборки.
Ремонт гидравлического домкрата не отличается особой сложностью, главное — правильно соблюдать инструкцию и качественно выполнять каждый этап работы.
Большое значение для нормального функционирования инструмента имеет качество рабочей жидкости, приобретать которую нужно только у известных производителей. Следование простым рекомендациям по эксплуатации позволит максимально снизить риск возникновения поломок и продлить срок службы инструмента.
Как прокачать гидравлический домкрат — весьма распространенный вопрос среди автовладельцев. Но также стоит знать про устройство и виды агрегата.
Собрать подкатной домкрат своими руками хотят многие автовладельцы. Это существенно упрощает процессы ремонта, профилактики автомобиля, избавляет от необходимости посещать СТО и тратить деньги на покупку заводских домкратов.
Сам по себе домкрат — это устройство, предназначенное для подъема груза на требуемую высоту. Такие агрегаты широко применяются в быту и промышленности, различаясь при этом габаритами и мощностью.
Устройство для подъема груза применяется для:
- Фиксации;
- Перемещения;
- Поднятия тяжелых деталей;
- В строительных сферах;
- При разборке автомобиля, замене колес и пр.

При этом главная отличительная черта — это грузоподъемность. Некоторые модели предназначены для поднятия нескольких тонн, а другие — для сотен тонн веса.
Устройство гидродомкрата
Чтобы сделать расчет гидравлического домкрата для его покупки или самостоятельной сборки, рекомендуется узнать, какая схема, устройство и конструктивные особенности у данного приспособления.
Подъемное устройство состоит из трех основных компонентов:
- Подвижного поршня;
- Корпуса. Его изготавливают из высокопрочного металла, имеет форму цилиндра. Помимо функций корпуса, он играет роль емкости, где находится масло;
- Жидкой среды. В роли нее выступает машинное масло;
- Рычаги;
- Клапаны;
- Плунжеры.
- На рычаг подается усилие, а применение клапанов дает возможность увеличить его в десятки раз.
- Плунжер позволяет перемещать устройство поршня путем передачи рабочей жидкости, которой выступает масло, в емкость под плунжером.

- За счет клапана масло не перетекает обратно в корпус.
- Постепенно плунжер передает большее количество масла под поршень, что способствует его поднятию.
- Для опускания груза нужно, чтобы масло вернулась в устройство корпуса. Тут требуется приоткрыть клапан.
Подобный принцип работы актуален для всех гидравлических домкратов. Потому схема, чертежи, видео руководства по сборке и эксплуатации данных устройств примерно одинаковы.
Преимущества и недостатки
Если вы решите собрать устройство для подъема груза бутылочного типа, создавая тем самым гидравлический домкрат, либо хотите купить заводское оборудование, следует предварительно узнать про сильные и слабые стороны, которыми характеризуется устройство.
Начнем с преимуществ, к которым относят:
- Высокие показатели мощности;
- Простота эксплуатации;
- Высокий КПД, достигающий 80 процентов;
- Устройство работает при перемещении грузов весом до 200 тонн.
Так что поднимает гидродомкрат приличную массу.
Но у такого типа домкрата есть свои недостатки. Их следует знать до начала работы на нем.
- Устройство не может поднять груз с небольшой высоты.
- Невозможность устанавливать уровень опускания деталей.
- Устройство такого типа требует пристального внимания, периодического сервисного обслуживания. Схема сервисного обслуживания предусматривает необходимость заливать масло, менять сальники, прокладки.
- Гидравлический домкрат можно транспортировать и хранить только при условии его вертикального расположения. В противном случае вытекает масло, его приходится заливать заново для нормальной работы. Заправить агрегат не сложно, но постоянно делать это никому не захочется.
- Принцип устройства не позволяет ему быстро выполнять функции подъема и опускания.
- Подъем осуществляется циклично.
- Устройство такого типа достаточно дорогое.
- Поломки для гидравлических домкратов не редкость, а в обслуживании они довольно дорогие.

Виды гидравлических домкратов
Брать заводской или собирать самодельный — решать вам. На рынке представлены гидравлические домкраты разного типа. Каждый из них имеет свои особенности, о которых следует знать предварительно до покупки устройства.
- Агрегат бутылочного типа. Сама распространенная и одновременно самая конструктивно простая вариация гидравлического домкрата. Подъемники бутылочного типа поднимают груз весом до 100 тонн, отличаются внушительной опорной площадью и компактным корпусом. Широко используются для работы на автосервисах. У бутылочного гидродомкрата есть две модификации — одноштоковые и двухштоковые. Первые имеют простую конструкцию, используются в строительстве, ремонте ж/д вагонов, при изготовлении трубогибочных, труборезных агрегатов. Двухштоковый механизм может работать в вертикальном и горизонтальном положении.
- Подкатной. Подкатное устройство внешне напоминает тележку, перемещающуюся под поднимаемым грузом. Управление осуществляется ручным рычагом, регулировка выполняется масляными клапанами.
Отлично показывает себя при одностороннем подъеме груза, актуально применять при замене колес на авто. Но для работы требуется ровная, жесткая поверхность. Бывает самодельный. - Гибридный. Совмещает в себе бутылочный и подкатной гидродомкрат, широко используется на автосервисах. Управление осуществляется рычагами и ножными педалями.
- Ромбовый. Актуален для автосервиса. Его несущие конструкцию соединяются шарнирами и образуют ромб, что повлияло на название устройства. Компактные, сравнительно легкие, удобные для транспортировки.
- Зацепные. Используются там, где нужно с небольшой высоты поднять груз. Для его работы используется бутылочная схема. Может быть самодельный.
Собрать своими руками самодельный агрегат, либо купить гидравлический заводской домкрат бутылочного типа — ваше личное решение.
Ремонт и прокачка
Принцип работы понятен. Остается разобраться, как выполнить ремонт и прокачку устройства. Какое именно масло вы будете заливать при его замене или доливке, опирайтесь на заводские инструкции производителя.
К самым распространенным поломкам гидравлических домкратов можно отнести следующие:
- Недостаток масла;
- Избыток воздуха внутри;
- Образование ржавчины, грязи;
- Деформированный шток.
В этом случае потребуется провести ремонт и прокачать ваш гидравлический домкрат.
- По мере эксплуатации масло будет вытекать из гидравлического домкрата, что приводит к необходимости периодического добавления рабочей жидкости. Доливка выполняется ремкомплектом.
- Перед началом обслуживания подготовьте емкость, куда будет сливаться старое масло, подготовьте свежую жидкость для заливки.
- Гаечными ключами открутите крепления, извлеките клапан слива, поршень домкрата.
- Зачистите поршни, удалите грязь, ржавчину, проверьте их на предмет целостности.
- Снаружи внутри зачастите клапан стравливания. Наличие на нем дефектов говорит о необходимости замены.
- Осматривая клапан, не потеряйте шарик из металла. Если он не будет плотно прилегать, домкрат работать толком не сможет.

- Путем прокачки слейте старое масло. Для этого перемещайте рычаг вверх-вниз, пока все масло не перетечет в главный цилиндр.
- Зачистите все детали после слива, замените манжеты, прокладки.
- Желательно промыть керосином. Залейте его внутрь домкрата, прокачайте, предварительно сняв запорную иглу. Прокачкой удалите керосин, заполните емкость новым маслом.
- Если образовалась воздушная пробка в домкрате, снимите пробку масляного бака, откройте клапан и прокачайте несколько раз. Затем откройте сливной клапан и поставьте на место пробку.
Принцип прокачки, обслуживания не вызывает проблем, потому каждый пользователь может своими руками ремонтировать гидравлический домкрат.
Довольно большое распространение получил домкрат. Они есть в арсенале практически каждого автолюбителя, может пригодится при проведении различной работы в мастерской. Существует несколько разновидностей подобного механизма, в данном случае уделим внимание гидравлическому. Подобный инструмент передает усилие за счет сжатия жидкости.
Сложность механизма и его применение в сложных эксплуатационных условиях определяет то, что возникает необходимость в проведении ремонта. Починить гидравлическую конструкцию можно своими руками, но при этом следует учитывать все особенности подобного процесса. Рассмотрим то, как провести ремонт гидравлического домкрата и в чем могут заключаться особенности этого процесса.
Причины поломок домкрата
Конструкция гидравлического домкрата может существенно отличаться. Многие профессиональные модели могут прослужить в течение длительного периода, но все же определенные причины могут привести к возникновению серьезного дефекта.
Неисправности гидравлического домкрата можно связать со следующими проблемами:
- Чаще всего из строя выходит рабочий цилиндр, а также зеркала плунжера. Подобная неисправность приводит к тому, что рабочая часть не держит давление, масло проникает из рабочей камеры в надпоршневое пространство. В этом случае возникает довольно много проблем с применением устройства.

- В большинстве случаев повреждение зеркал происходит по причине халатности во время эксплуатации. Гидравлика не работает в этом случае или обладает низкой эффективностью. Поверхность повреждается по причине транспортировки в горизонтальном положении, если этого не предусмотрел производитель.
- Слишком серьезное повреждение поверхности зеркал приводит к тому, что жидкость начинает вытекать, в полость попадает воздух, за счет чего начинает активно развиваться коррозия.
- Коррозия на поверхности становится причиной быстрого износа различных уплотнителей и манжет. При их изготовлении применяется резина, которая подвержена механическому воздействию. В результате деформации и сильного износа в масло попадает большое количество посторонних элементов, которые приводят к засорению установленных клапанов и каналов.
- Механические воздействие, к примеру, на момент падения устройства с большой высоты также становится причиной появления большого количества проблем. Слишком сильное воздействие может привести к появлению внутренних или поверхностных деформаций корпуса, искривлению основных элементов.

- Слишком высокая нагрузка может стать причиной повреждения механизма. Распространенной проблемой можно назвать искривление штока, за счет чего камера также начинает пропускать масло по причине перекоса основного элемента. Каждая модель подъемного механизма рассчитана на определенную нагрузку, которая указана в инструкции по эксплуатации.
- Применение не по предназначению тоже приводит к появлению основных неисправностей. Использовать гидравлический домкрат следует исключительно исходя из рекомендаций производителя.
Многие причины неисправности подъемного механизма являются следствием неправильного применения устройства. Кроме этого, обслуживание некоторых моделей гидравлических домкратов предусматривает периодическую замену масла. Эти и многие другие моменты учитываются при рассмотрении инструкции по эксплуатации.
Необходимые инструменты и материалы
Ремонт гидравлического домкрата своими руками можно провести в собственной мастерской при наличии требуемых материалов и инструментов.
Стоит учитывать, что некоторые варианты исполнения подъемного механизма представлены неразборными конструкциями, и выполнить ремонтные работы будет довольно сложно. Разбирать гидравлический домкрат следует с учетом особенностей его конструкции. Для этого могут потребоваться следующие инструменты:
- Молоток и долото.
- Плоскогубцы.
- Отвертки различным диаметром.
- Ножовка.
- Набор ключей и газовый ключ.
Существует просто огромное количество разновидностей гидравлических домкратов, поэтому точно сказать, какие именно инструменты могут понадобится для выполнения работы сложно. В некоторых случаях предусматривается возможность легкого доступа к внутреннему механизму для обслуживания или ремонта, в других на разбор уйдет довольно много свободного времени.
Что касается материалов, то все зависит от того, какая именно неисправность у конструкции. очень часто выходят из строя уплотнители, которые изготавливаются из пластика или резины.
С их подбором может возникнуть довольно много трудностей, так как даже небольшой зазор может привести к пропуску рабочей жидкости в верхнюю камеру (приведет к падению давления). Если рассматривать повреждение штока или стекла, то подобные неисправности решаются лишь путем замены всего элемента.
При рассмотрении того, как разобрать гидравлический домкрат, нужно уделить внимание особенностям конструкции. Усилие во всех случаях передается через масло, которое обладает низким коэффициентом сжатия. Как ранее было отмечено, для обеспечения длительной службы устройства в условии частого применения следует проводить замену масла, так как оно со временем может потерять свои эксплуатационные характеристики.
Устройство подкатного домкрата не существенно отличается от обычного упорного. Рабочая часть выполнена при применении схожих принципов. Стоит учитывать, что конструкция во многом зависит от того, какова грузоподъемность. Некоторые модели снабжаются резьбовым удлинителем, который позволяет изначально регулировать начальную подъемную высоту.
Гидравлический домкрат своими руками можно отремонтировать при неисправности вспомогательных элементов или основной рабочей части. В большинстве случаев проблемы возникают именно с рабочей частью. Классический вариант исполнения представлен сочетанием следующих элементов:
- Поршня, который имеет уплотнительные кольца. Именно на него оказывается давление жидкостью. За счет сочетания огромного количества уплотнителей из различных материалов поршень не пропускает масло даже при возникновении большого давления. Кроме этого, сама конструкция рассчитана на высокую нагрузку. Применение резиновых уплотнителей позволяет сделать элемент подвижным.
- Цилиндра с уплотнителями. Именно цилиндр создает рабочую полость, в которой оказывается давление на шток. Для того чтобы снизить трение при ходе подвижного элемента поверхность полируется до зеркального состояния. При изготовлении этого элемента применяются материалы, обладающие высокими коррозионными свойствами. Появление даже несущественной ржавчины приводит к тому, что подвижная часть начинает быстро изнашиваться.
Снаружи цилиндр представлен чугуном, который весьма восприимчив к ударной нагрузке. Поэтому следует обходится с рассматриваемым инструментом аккуратно. - Силового штока. Этот элемент связан с поршнем, приводится в движение. Именно шток воспринимает нагрузку, которая возникает между поднимаемым объектом и поршнем. При изготовлении применяется высококачественная сталь, рассчитанная на высокую нагрузку. Для продления ее срока службы поверхность проходит химическую обработку для придания коррозионной стойкости. Стоит учитывать, что при использовании гидравлического домкрата с нарушением рекомендаций по эксплуатации, связанных с допустимыми нагрузками, происходит искривление штока. Подобная неисправность встречается крайне часто.
- Системы пропускных каналов. Для того чтобы подать и удалить масло с рабочей камеры требуются пропускные каналы. Они имеют небольшие размеры, со временем могут засорятся.
- Плунжерного насоса, за счет которого обеспечивается давление. Большая часть устройств механического типа предусматривает ручное накачивание жидкости в рабочую область.
Устройство плунжерного насоса характеризуется высокой надежностью, выходит из строя редко. - Стравливающего клапана применяются для того, чтобы убрать жидкость из рабочей камеры. Реализован подобный элемент конструкции может быть различным образом. Как правило, это небольшой винт, при повороте которого за счет давления, оказываемого на шток, вся жидкость удаляется из рабочей камеры.
- Манжет и уплотнителей. Эти элементы обеспечивают изоляцию рабочей камеры и других элементов конструкции. Они также обеспечивают подвижность штока с поршнем. При изготовлении манжет и уплотнителей применяются пластичные материалы, характеризующиеся большой устойчивостью к механическому воздействию или воздействию применяемого масла. Важными показателями уплотнителей является их внешний и посадочный диаметр, а также жесткость и износостойкость. Найти подходящий вариант исполнения для замены во многих случаях достаточно сложно.
- Заливного отверстия для поддержания требуемого уровня масла в системе.
Время от времени нужно проводить добавление масла для поддержания требуемого уровня. Как правило, при интенсивном применении гидравлического домкрата или его транспортировке в неправильном положении уровень рабочей жидкости падает. Некоторые модели устройства обладают индикатором уровня масла.
В целом можно сказать, что конструкция довольно проста, однако она имеет много трущихся элементов. Многие производители создают разборные конструкции, когда уплотнители на штоке фиксируются за счет гайки или другого крепежного элемента. Стоит учитывать, что встречаются и неразборные варианты исполнения, ремонт которых в несколько раз усложняется.
Ремонт домкрата в большинстве случаев довольно прост при наличии необходимых расходных материалов. Стоит учитывать, что появление коррозии на поверхности может существенно усложнить поставленную задачу. Поэтому нужно приобрести специальную жидкость для снятия коррозии и окислений.
Ремонт подкатного гидравлического домкрата своими руками условно можно разделить на несколько основных этапов:
- Определяется суть проблемы.
Если конструкция не держит давление, то велика вероятность износа уплотнителей. В случае, когда подъем происходит с затруднением, то есть вероятность деформации штока или возникновении других проблем. - Проводится полный разбор конструкции. На данном этапе главное не повредить крепежные элементы. Стоит помнить о том, что во время подачи давления рабочая полость должна сдерживать его. Даже незначительный дефект может стать причиной появления течи и падения давления.
- Выполняется осмотр целостности основных элементов. В большинстве случаев определить причину появления проблемы можно при визуальном осмотре конструкции. К примеру, уплотнители могут иметь выемки, бороздки и другие деформации, шток небольшой изгиб, каналы низкую пропускную способность за счет накопления сажи и грязи.
- После определения причины появления неисправности можно провести ремонт подкатного домкрата.
В большинстве случаев отремонтировать гидравлический домкрат можно следующим образом:
- После разбора конструкции проводится очистка внутренней полости от различного мусора.
Кроме этого, придется полностью заменить используемое масло. - Уплотнители могут сниматься различным образом. Как правило, есть фиксирующий элемент, за счет которого обеспечивается неподвижность резинок во время работы устройства. Стоит учитывать последовательность расположения резинок и уплотнителей различного типа. Неправильная установка может привести к тому, что устройство не будет держать давление.
Как ранее было отмечено, искривление штока и повреждение зеркальной поверхности нельзя исправить самостоятельно. Слишком сильный износ приводит к тому, что приходится заменять весь элемент или сам подъемный механизм.
Домкрат гидравлический бутылочного типа имеет еще более простую конструкцию. Как правило, она не требует никаких регулировок. Поэтому после ее сборки можно приступить к тестированию и последующей эксплуатации при условии отсутствия проблем. Некоторые производители подъемных механизмов указывают инструкцию, как разобрать устройство и провести ремонт.
Ее использование позволяет существенно упростить поставленную задачу.
Отремонтированный гидравлический домкрат первое время должен проверяться на исправности работы. Это связано с тем, что частое применение при неправильной установке уплотнителей или допущении других ошибок приведет к быстрому износу основных элементов. Поэтому следует предусматривать наличие страховки в случае подъема автомобиля или других механизмов. При правильном проведении ремонтных работ можно существенно продлить срок службы гидравлического домкрата.
Применение домкрата гидравлического в промышленности
Гидравлический домкрат представляет собой устройство, предназначенное для работы с тяжелыми грузами. Его также используют в процессах, связанных с растяжением и фиксацией элементов, изготовленных из прочных материалов. Гидравлические домкраты позволяют существенно облегчить труд персонала промышленного предприятия и ускорить производственные циклы. Их применяют в следующих сферах деятельности:
· в производстве;
· в промышленности;
· на строительных объектах;
· в области нефте- и газодобычи;
· в ремонтных мастерских и пр.
Принцип работы
Гидравлические домкраты работают за счет силы, которая передается при перекачивании специальной жидкости на шток. В роли такой жидкости обычно выступает незамерзающая жидкость или гидравлическое масло. Насос, качающий масло, может приводиться в движение вручную пользователем или же при помощи электропривода.
Для того чтобы поднять груз, необходимо создать определенное давление на поршень, закачав рабочую жидкость в цилиндр, который расположен под плунжером, после чего перекрыть клапан. Опускание груза выполняется открытием клапана — при этом жидкость перетечет в емкость насоса, а плунжер с размещенным на платформе грузом опустится. Высоту подъема и спуска грузов можно регулировать, открывая и закрывая клапан.
Виды гидравлических домкратов
В современной промышленности широко применяются самые разные модели домкратов, которые различаются особенностями конструкции и мощностью. Они могут выполнять функции самостоятельного агрегата либо быть элементом сложного промышленного механизма.
Производители предлагают следующие модели гидравлических домкратов промышленного назначения:
· Гидравлический домкрат с фиксирующей гайкой. После подъема груза на нужную высоту его можно зафиксировать при помощи гайки на необходимый промежуток времени.
· Устройства, оснащенные гидравлическим возвратом. Используются в производственных процессах, подразумевающих быстрый возврат поршня. Могут быть самостоятельными приборами либо входить в состав промышленных прессов и других агрегатов.
· Модель с полым поршнем. Основная сфера применения таких устройств — запрессовка и выпрессовка различных деталей, натяжение арматуры и канатов и пр.
· Низкий домкрат гидравлический (монтажный). Компактные габариты агрегата позволяют использовать его в ограниченном пространстве. Служит для выполнения работ, связанных с выверкой и установкой различного оборудования.
· Клиновой гидравлический домкрат. Позволяет выполнять подъем грузов, отличающихся небольшой высотой подхвата.
Также применяется при расширении узких проемов.
· Гидравлический домкрат подкатной. Мощное и габаритное устройство, которое используют при монтажных, ремонтных и сборочных работах на промышленных предприятиях.
· Алюминиевый гидравлический домкрат. Отличается малым весом при отличных показателях мощности. Сфера применения — эстакады, высотные объекты и участки, требующие использования легкого оборудования.
· Тянущий домкрат (гидравлический). Компактное устройство, создающее мощное тянущее усилие. Используется во время стяжки деталей металлоконструкций и прочих работ.
· Гидравлический домкрат бутылочный (автономный). Применяется для выполнения подъемных работ на объектах, где невозможно использовать ручной насос.
· Универсальный гидравлический домкрат. Отличается способностью функционировать практически в любом положении. Используется для плавного подъема и опускания различных грузов.
Каждая модель выпускается в нескольких вариантах, которые отличаются между собой такими параметрами, как грузоподъемность, ход штока, объем рабочей жидкости, габариты и масса.
Тяжелые промышленные домкраты грузоподъемностью 300-500 тонн оснащаются предохранительными клапанами, расположенными в штоковой и поршневой полостях. У некоторых моделей предусмотрено наличие плавающих опор, за счет которых существенно снижаются нагрузки на шток. Правильный выбор промышленного гидравлического домкрата обеспечит бесперебойный рабочий процесс, значительно сократит его продолжительность и повысит эффективность всего предприятия.
Гидравлический домкрат – обзор
2.6.11 Прочность холодногнутых балок с бетонным наполнением
Балки были испытаны с помощью четырех гидравлических домкратов, как показано на рис. 2.196, для имитации чистого распределения изгиба. Экспериментальные результаты будут представлены в виде прогибов, деформаций и распределения напряжений для двух испытанных балок. Устройство, включающее шарнир, тензодатчик и цилиндрические ролики, использовалось для обеспечения правильных граничных условий между домкратами и верхней полкой балки, как показано на рис.
2.196.
Рис. 2.196. Загрузить схему конфигурации и загрузить сведения о точке приложения.
Было проведено три предварительных испытания для калибровки гидравлических домкратов, опор и приборов, используемых для измерения нагрузок, деформаций, отклонений и проскальзывания, как показано в таблице 2.12.
Таблица 2.12. Тестовые результаты
| Test | Максимальная нагрузка (KN) | Максимальное отклонение (мм) | Остаточное отклонение (мм) | Остаточное отклонение (мм) | |
|---|---|---|---|---|---|
| 1 | 1st Preload | 57.6 | 37,8 | 3,7 | |
| 1 | вторая преднагрузка | 100,8 | 69,7 | 5,3 | |
| 1 | третья преднагрузка | 139,2 | 99,5 | 20,3 | |
| 1 | Окончательный тест | 240. 0 | — | — | — |
| 2 | |||||
| 2 | 1st Preload | 28.0 | 15.2 | 15.2 | 1,9 |
| 2 | Final Test | 284.6 | 452.6 | – |
Первое предварительное нагружение было выполнено, когда бетон выдерживал 53 дня, достигая максимальной нагрузки 57,6 кН с максимальным прогибом 37,8 мм, измеренным в центральном пролете. Остаточный прогиб 3,7 мм остался в балке после разгруженного процесса. При втором предварительном нагружении конструкция была нагружена до 100,8 кН с максимальным прогибом, полученным в центральном пролете, 69,7 мм и остаточным прогибом 5,3 мм. При третьем предварительном нагружении конструкция была нагружена до 139.2 кН, при максимальном прогибе 99,5 мм и полном остаточном прогибе 20,3 мм (рис. 2.197).
Рис. 2.197. Общая схема экспериментов и кривая зависимости вертикального смещения середины пролета от 1-й испытательной нагрузки.
Прогибы измерялись в четверти и середине пролета балки с помощью трех LVDT, расположенных на верхней полке. Прогибы среднего пролета показаны на рис. 2.197 до его обрушения, произошедшего из-за разрыва сварного шва в середине пролета в нижней полке. Грузоподъемность и максимальное водоизмещение составляли 240 т.на 2 кН и на 225,1 мм больше максимально допустимого, обычно л/360 (т. е. 32,5 мм), как показано на рис. 2.198.
Рис. 2.198. Разрыв сварного шва нижней полки, 1-е испытание.
На рис. 2.199 показаны кривые нагрузки на балку в зависимости от деформации, измеренные двумя тензодатчиками, расположенными на нижней полке, на расстоянии 200 мм от середины пролета балки. Нелинейное поведение инициировалось при значениях нагрузки более 120 кН, в то время как начало деформаций текучести стали соответствовало значениям нагрузки 176,8 и 187,5 кН соответственно с разницей в 6%.При предельной нагрузке деформации превышали деформацию текучести в 1,6 и 1,9 раза, ? y .
Рис. 2.199. Кривая зависимости нагрузки от нормализованной деформации, 1-й тест.
Кривые зависимости нагрузки от нормированной деформации для двух арматурных стержней, расположенных вблизи растянутой части стального профиля, показаны на рис. 2.199. Деформации регистрировались двумя тензорезисторами, расположенными на нижней грани каждого стержня, на расстоянии 200 мм от середины пролета балки. Кривые похожи, что указывает на симметричное поведение.Предел текучести стального стержня был достигнут при значении нагрузки 253,0 кН.
Когда бетон достиг 44 дней, во второй балке была сделана однократная предварительная нагрузка, достигающая нагрузки 28 кН и максимального вертикального центрального смещения 15,2 мм и остаточного прогиба 1,9 мм (таблица 2.12). В финальном испытании, когда нагрузка была равна 210 кН, был достигнут максимальный ход центрального домкрата, что привело к необходимости анкеровки конструкции к лабораторной реакционной плите. Когда эта задача была завершена, домкраты были опущены, и тест прошел нормально.
На рис. 2.200 показана деформированная конфигурация второй балки на этапе нагружения. Когда значение приложенной нагрузки составляло приблизительно 284,3 кН, разрыв сварного шва на единственной U-образной форме холодной штамповки нижней полки в середине пролета привел к разрушению конструкции. Максимальная нагрузка 284,6 кН была зафиксирована вскоре после разрыва сварного шва.
Рис. 2.200. Деформированная конфигурация под нагрузкой и нагрузкой в зависимости от смещения промежуточного пролета, 2-е испытание.
На рис. 2.200 также показана кривая зависимости нагрузки от вертикального смещения, измеренная с помощью LVDT, установленного в середине пролета.Нелинейное поведение было замечено при значениях нагрузки более 122,2 кН. От этой нагрузки, соответствующей прогибу 89,9 мм, смещения значительно увеличились. Максимальная нагрузка составила 284,6 кН, что очень близко к теоретической нагрузке 284,3 кН. Максимальное смещение составило 452,6 мм, что значительно превышает предел эксплуатационной пригодности для пролета более 360.
На рис. 2.201 показаны две кривые зависимости нагрузки от деформации для точек, расположенных на верхней полке холодногнутого профиля, полученные двумя тензодатчиками 150. мм от середины пролета балки.Кривые почти идентичны с линейным поведением для значений нагрузки менее 109 кН. Деформация текучести была связана со значениями нагрузки 196,4 и 193,5 кН. Когда приложенная нагрузка достигала своего максимума, деформации в пять раз превышали значения текучести. На рис. 2.201 показаны кривые зависимости нагрузки от деформации для двух арматурных стержней. Деформации регистрировались двумя тензодатчиками, расположенными на их нижней стороне, на расстоянии 150 мм от середины пролета балки. Еще раз подобное поведение было отмечено при текучести при нагрузке 220 кН.
Рис. 2.201. Кривая зависимости нагрузки от нормированной деформации, 2-й тест.
Наличие армированного бетона увеличивает инерцию балки, делая конструкцию более жесткой и, следовательно, приводя к меньшим смещениям, чем некомпозитное решение.
Теоретические и экспериментальные значения перемещений превышали максимальные пределы, обычно принимаемые в строительных стандартах. С учетом этого ограничения можно пересчитать максимально допустимый прогиб для строительных конструкций, где испытуемая балка будет пригодна для пролетов до 7.5 м.
Испытания не показали скольжения на поверхности раздела стали и бетона, подтверждая, что стыковые соединители, приваренные к стенке стального профиля, обычно применяемые в прокатных стальных балках, не требуются для испытанных холодногнутых профилей. В основном это произошло из-за дополнительного сопротивления, связанного с эффектом локализации бетона.
Один из самых интересных аспектов этого эксперимента заключался в процессе построения этих элементов, и он выполнялся в три этапа.Первый заключался в сгибании стальных листов для придания им желаемой формы. За этим последовала сварка этих изолированных элементов, чтобы сформировать секцию I. Наконец, была заливка бетона. Его выполнили за два дня, то есть по одному на каждую сторону профиля.
Бетонное удержание оказалось чрезвычайно эффективным, исключая использование соединителей на стенке балки, которые являются обычными и необходимыми при использовании катаных или сварных стальных профилей вместо принятых холодногнутых профилей.
В принятых контрольно-измерительных приборах использовались тензодатчики, LVDT и циферблатные датчики, где ключевым моментом было измерение проскальзывания на границе раздела стали и бетона.Это было сделано с помощью LVDT, расположенных на стальном профиле, путем измерения относительного смещения бетона в этой области и способствовало пониманию высокой локализации бетона внутри стального профиля.
Смещения и возможные движения твердого тела также контролировались в предлагаемой системе плит с помощью LVDT и циферблатных индикаторов. Тензорезисторы использовались для определения распределения деформации в стальном профиле, чтобы оценить их реальные структурные характеристики. Карданные шарниры и ролики использовались в опорах и точках приложения нагрузки для обеспечения их надлежащей работы в рамках конструктивной модели, спроектированной как просто опора при действии сосредоточенных нагрузок.
Домкраты гидравлические: определение, компоненты, типы, работа
С момента изобретения домкратов их применение широко используется в различных областях для подъема больших сил или тяжелых грузов. Существуют разные типы домкратов, хотя они выполняют одну и ту же операцию. Наиболее часто используемыми и доступными являются механический домкрат и гидравлический домкрат. Механический домкрат работает с винтовой резьбой для подъема тяжелого оборудования, а гидравлический домкрат использует гидравлическую энергию.Этот домкрат часто используется в автомобильной промышленности.
Сегодня вы познакомитесь с определением, применением, компонентами, схемой, типами, работой, преимуществами и недостатками гидравлических домкратов.
Подробнее: Знакомство с гидравлическим насосом
Что такое гидравлический домкрат?
Гидравлические домкраты — это механические устройства, используемые для подъема тяжелых грузов. Они обычно используются в автомобильной промышленности для подъема транспортных средств с земли, поэтому они известны как разновидность гидравлического домкрата.
Обычно домкраты рассчитаны на максимальную грузоподъемность, например, 1,5 тонны или 3 тонны. Промышленные домкраты могут быть рассчитаны на многотонную нагрузку.
Усилие гидравлических домкратов можно рассчитать по закону Паскаля. Гидравлические домкраты состоят из двух поршней внутри цилиндра, который отвечает за подъем тяжелого груза. Большой и меньший цилиндры соединены вместе. Маленький поршень заставляет жидкость поднимать большой поршень. Есть два шаровых клапана, которые работают как обратный клапан, пропуская поток и останавливая поток во время перекачки.
Давление = Сила X Площадь
Штанга вставляется в гнездо рукоятки домкрата, при накачивании гидравлическая жидкость нагнетается поршнем и проходит через односторонний клапан. Сила жидкости действует на дно большего цилиндра, позволяя плунжеру двигаться вверх. Другой клапан заблокирован, поэтому жидкость под давлением не может вернуться, пока он не будет откручен. Так работает гидравлический домкрат.
Подробнее: Все, что вам нужно знать о гидравлическом прессе
Применение гидравлических домкратов
Домкратыв целом имеют широкое применение в различных отраслях промышленности и используются для подъема и транспортировки тяжелых грузов, снятия вертикальных усилий с несущих элементов для создания места для ремонта.Гидравлические домкраты или другие виды также являются оборудованием, используемым в строительных работах, судостроении, ремонте автомобилей и других специализированных отраслях промышленности. Ниже приведены области применения всех типов домкратов, включая гидравлические домкраты.
- Самолет
- Автомобилестроение
- Мосты
- Натяжение троса
- Переезд дома
- Строительство
- Общепромышленный
- Лаборатория
- Локомотив
- Морской
- Мобильный дом
- Железная дорога
- Судостроение
- Крепление и стабилизация, например, для туннелей и шахт
- Тракторы и прицепы
По сути, применение гидравлических домкратов включает в себя;
- Подъем промышленных тяжелых грузов.

- Подъем автомобилей и транспортных средств для зажима.
- Наконец, зажимное оборудование.
Подробнее: Все, что вам нужно знать о слоттере
Компоненты гидравлических домкратов
Чтобы проиллюстрировать и понять компоненты гидравлических домкратов, будет рассмотрен типичный гидравлический домкрат с ручным управлением, поскольку он широко используется. Ниже приведены основные компоненты гидравлических домкратов.
- Резервуар или буферный бак
- Насос с поршнем или плунжером
- Рычаг или ручка насоса
- Обратный клапан
- Главный цилиндр или плунжер
- Выпускной клапан
- Ручка
Резервуар или буферный бак – это сосуд, в котором хранится гидравлическая жидкость или перекачивается масло, которое будет использоваться для передачи приложенного давления от насоса к гидроцилиндру.
Поршневой насос – деталь, которая приводится в действие механически путем перемещения рычага насоса или рукоятки вверх и вниз.
Рычаг или рукоятка насоса — движение рычага насоса создает давление в гидравлической жидкости, которое переносит эту жидкость под давлением через обратный клапан в главный цилиндр.
Главный цилиндр – также именуемый ползунком, при движении вверх он выдвигается из корпуса гидродомкрата под давлением гидравлической жидкости, создавая необходимую подъемную силу и поднимая груз.
Выпускной клапан – это деталь, помогающая сбросить давление, чтобы плунжер мог втянуться и груз можно было опустить.
Подробнее: Разница между строгальным станком и строгальным станком
Ниже представлена схема гидравлических домкратов, включая мелкие детали:
- Внутренняя ручка
- Внешняя ручка
- Зажим типа «крокодил»
- Штифты
- Соединительный стержень насоса
- Винт соединительного звена
- Корпус ручки насоса
- Шток насоса
- Уплотнительное кольцо насоса
- Пластиковое кольцо насоса
- Корпус насоса
- Шайба корпуса насоса
- Винт клапана
- Уплотнительное кольцо винта клапана
- Шариковый подшипник клапана
- База
- Пластиковый бампер
- Пластиковый фильтр для жидкости
- Базовая пластиковая шайба
- Резиновое уплотнительное кольцо шомпола
- Пластиковый фиксатор шомпола
- Основание шомпола
- Оболочка шомпола
- Удлинительный винт
- Внутренняя камера
- Внешний цилиндр
- Резиновая заглушка
- Большое пластиковое колпачковое кольцо
- Резьбовая крышка внешнего цилиндра
- Предупреждения на английском языке
- Предупреждения об альтернативном языке
Подробнее: Типы строгальных станков и их спецификация
Типы гидравлических домкратов
Два типа гидравлических домкратов включают бутылочные домкраты и напольные домкраты.
Бутылочные домкраты:
Бутылочные домкраты, также известные как ручные домкраты, стали популярны в начале 1900-х годов, когда автомобильная промышленность начала развиваться. Они портативны и отлично подходят для людей, которые поднимают автомобиль для осмотра или обслуживания на дороге. Он назван бутылочным домкратом, потому что выполнен в форме молочной бутылки. Современные бутылочные домкраты способны поднимать от ста фунтов до нескольких тонн, хотя их размеры различаются.
Схема бутылочного домкрата:
Домкраты напольные:
В отличие от бутылочных домкратов, которые работают вертикально, напольные домкраты работают горизонтально.Вал давит на кривошип, который соединяется с подъемной площадкой, которая затем поднимается вертикально. Эти типы гидравлических домкратов обеспечивают больший диапазон вертикального подъема, чем бутылочные домкраты, и доступны в двух размерах. Обычный размер составляет около четырех футов в длину, фут в ширину и весит около 200 фунтов.
Они могут поднять около 4-10 тонн. Позже была изготовлена более компактная модель, она может поднимать 11/12 тонн, длина около метра. Также существуют мини-домкраты, но они не считаются стандартными типами напольных домкратов.Примечание: гидравлические домкраты предназначены для работы с ручным приводом, пневматическим (сжатым), электрическим или газовым.
Подробнее: Определение шин, области применения, компоненты, типы и материалы
Другие типы домкратов включают
Гидравлические домкраты с подъемом пальцев:
Гидравлические домкраты для подъема пальцев представляют собой специальные типы, используемые для подъема оборудования и других грузов с малым зазором между землей и нижней поверхностью груза. Этот специальный домкрат работает в ситуациях, когда бутылочный домкрат или напольный домкрат не могут работать из-за низкого дорожного просвета груза.
Выравнивающие домкраты:
Домкраты этого типа используют механические винтовые механизмы.
Они портативны и часто используются для выравнивания прицепов, жилых автофургонов и т. д.
Ножничные домкраты:
Ножничные домкраты представляют собой компактные домкраты, в которых используется механический винт. Вращение винта приводит к подъему и опусканию набора ножниц, которые выдвигаются или втягиваются в зависимости от положения винтового механизма.
Винтовые домкраты:
Винтовые домкраты— это механические домкраты, в которых для подъема и опускания груза используется вертикальный винтовой механизм.Некоторые из них предназначены для регулировки с помощью гаечного ключа, в то время как в других используется уровень, вставляемый через отверстие в домкрате. Это дает дополнительное механическое преимущество для использования при повороте винта подъема груза.
Домкраты с храповым механизмом:
Домкраты этого типа используют собачку и храповой механизм для подъема или подъема груза. В какой-то момент домкраты с храповым механизмом были стандартными типами домкратов, которые производители автомобилей включали в свои автомобили, чтобы владельцы могли использовать их для замены спущенных шин.
Подробнее: Все, что вам нужно знать о машинном прессе
Принцип работы гидравлического домкрата
Работа гидравлических домкратов проще и понятнее. Вышеупомянутый тип домкрата был бутылочного типа. Посмотрите видео ниже, чтобы узнать, как работают другие типы гидравлических домкратов:
Преимущества и недостатки гидравлических домкратов
Преимущества:
Ниже приведены преимущества гидравлических домкратов в различных областях их применения.
- Большинство дизайнов занимают меньше места.
- Меньшая вероятность заклинивания из-за ржавчины резьбы.
- Очень эффективен при больших нагрузках.
- Легче в использовании.

- Грузы поднимаются с минимальными усилиями.
- Легче винтовых домкратов.
Подробнее: Принцип работы шлифовального станка
Недостатки:
Несмотря на хорошие преимущества гидравлических домкратов, все же имеют место некоторые ограничения. Ниже приведены недостатки гидравлических домкратов в различных областях их применения.
- Имеет относительно низкую скорость.
- Подвержен отказу при износе сальников.
- Устройство может издавать неприятный запах из-за чрезмерного использования теплого масла.
- Может быстро произойти перегрев.
- Утечка гидравлического масла может привести к загрязнению почвы и воды.
Подробнее: Детали долбежных машин и их функции
Заключение
Гидравлические домкраты — это механические устройства, используемые для подъема тяжелых грузов. Они обычно используются в автомобильной промышленности для подъема транспортных средств с земли, поэтому они известны как разновидность гидравлического домкрата.
Усилие гидравлических домкратов можно рассчитать по закону Паскаля. Это все для этой статьи, где обсуждаются определение, применение, компоненты, схема, типы, работа, преимущества и недостатки гидравлического домкрата.
Я надеюсь, что вы получили много полезного от чтения, если да, пожалуйста, поделитесь с другими учениками. спасибо за чтение, увидимся в следующий раз.
История гидравлического домкрата
Гидравлические домкраты представляют собой механические устройства, использующие гидравлическую энергию и действующие как подъемные устройства при подъеме тяжелых грузов.Существует много типов гидравлических домкратов, таких как напольный домкрат, гидравлический баллонный домкрат и домкрат с длинным поршнем, поэтому они оцениваются в соответствии с их максимальной грузоподъемностью.
История гидравлических домкратов началась много лет назад, когда французский математик и философ по имени Блез Паскаль проиллюстрировал принцип работы гидравлического домкрата в 17 веке.
Позже, в 1795 году, британский инженер Джозеф Брама получил патент на некоторые новые методы производства и приложения большей мощности ко всем механизмам, требующим движения и силы, и это касалось первого гидравлического пресса.Компания Richard Dudgeon начала свою деятельность в Нью-Йорке как механический цех, а 8 июля 1851 года изобретатель и основатель Ричард Даджен получил патент на «переносной гидравлический пресс». Эти домкраты приводились в действие водой или любыми другими жидкостями, такими как виски и китовый жир; устройство головок было местом для резервуара с жидкостью. Зимой другие жидкости имеют тенденцию замерзать и густеть, поэтому наиболее часто применяемой жидкостью был виски, и появилось название Whiskey Jack.
Гидравлический домкрат Dudgeon имел некоторые недостатки, например, устройство казалось тяжелым, особенно в верхней части из-за наличия резервуара на головке.
Даджен исправил эту проблему 14 лет спустя, спроектировав резервуар для жидкости на основании, сделав устройство улучшенным и новой моделью.
Изобретенный в 1851 году домкрат оказался более мощным, портативным и простым в эксплуатации по сравнению с винтовыми домкратами, которые требуют больших усилий при подъеме тяжелых устройств. Домкраты Dudgeon используются в железнодорожных мастерских и судостроительных предприятиях. Из-за большого количества заказов Даджен переместил свой механический цех в большие популярные кварталы на Гёрк-стрит в Нью-Йорке.Его домкрат, однако, был везде достаточно производительным и функциональным, чтобы гарантировать будущему изобретателю финансовый успех с самого начала. Ричард Даджен заслуживает похвалы за свои бесчисленные изобретения, среди которых:
- Паровая тележка
- Домкраты для фильтр-прессов
- Паровой кузнечный молот
- Домкраты
- Роликовые расширители котельных труб.
Гидравлические домкраты повсеместно и широко применяются во всем мире.У них много достоинств и преимуществ в нынешнем поколении, поскольку они сделали процессы подъема более простыми, удобными и надежными по сравнению с другими типами домкратов.
Эти домкраты имеют два соединенных между собой цилиндра и работают по принципу закона Паскаля. К распространенным типам гидравлических домкратов относятся напольные домкраты, используемые для подъема тяжелых предметов с поверхности пола, в основном при замене автомобильных шин или ремонте автомобилей. Гидравлический домкрат для бутылок — это еще один тип домкрата с длинной ручкой, который можно устанавливать в труднодоступных местах, поэтому он в основном используется в спасательных и поисковых операциях, а также в строительстве зданий.Домкраты длинного типа, используемые при выполнении общих ремонтных работ, и заводские пресс-домкраты применяются там, где требуется большое давление с меньшими усилиями. Гидравлические домкраты могут поднимать предметы весом от нескольких фунтов до нескольких тысяч фунтов. В качестве источников энергии они используют бензин, сжатый воздух, электричество и ручную силу. Клиенты гидравлических домкратов имеют возможность выбрать их лучшие типы, в том числе и по источнику питания.
Гидравлический домкрат | Работа, Применение, Преимущество, Недостаток
Что такое гидравлический домкрат?Прежде чем перейти непосредственно к гидравлическому домкрату, давайте сначала разберемся с «домкратом » .
Домкрат — это устройство, которое используется для подъема тяжелых грузов.
Домкрат может быть механическим, электрическим или гидравлическим в зависимости от метода создания усилия.
Гидравлический домкрат
Гидравлический домкрат работает по закону Паскаля.
Небольшая сила прикладывается к меньшей площади гидравлической жидкости, и эта сила создает некоторое давление в жидкости. Затем это давление прикладывается к более широкой области на выходе, так что создается достаточная сила для подъема груза.
Гидравлическая сила
Читайте также: Работа гидравлического пресса
Гидравлический домкрат Ниже приведены некоторые области применения гидравлического домкрата.
- Подъем автомобиля или любого другого транспортного средства для замены шин
- Для подъема тяжелых грузов в промышленности
- Краны оснащены гидравлическими домкратами для подъема груза
- Используются в подъемных платформах
- Они используются в погрузочно-разгрузочном оборудовании
- Используются в землеройной технике
Ниже приведены некоторые преимущества гидравлического домкрата.
- Занимает меньше места
- Они также менее подвержены заклиниванию из-за ржавчины на резьбе
- Очень эффективен при больших нагрузках
- Поднимает грузы с минимальным усилием
- Легче в использовании
- Немного легче винтовых домкратов
Ниже приведены некоторые недостатки гидравлического домкрата.
- Возможна поломка, если сальники изношены, это может вызвать серьезные проблемы
- Имеет относительно низкую скорость
- Гидравлическое масло может издавать неприятный запах, когда становится слишком горячим из-за чрезмерного использования
- Может довольно быстро перегреться
- Утечка гидравлического масла может привести к загрязнению почвы и воды
Ниже приведены некоторые вопросы, связанные с гидравлическими домкратами
Принцип работы гидравлического домкрата? Гидравлические домкраты работают по закону Паскаля.
Ричард Даджен в 1851 году получил патент на «Портативный гидравлический пресс».
Читайте также:
Преимущества заклепочных соединений
Классификация станков
Что такое процесс порошковой металлургии?
Преимущества процесса экструзии
Авторство изображений:
Рекомендуемые: Denzel-llc – собственная работа, CC BY-SA 4.0, https://commons.wikimedia.org/w/index.php?curid=74700891
Гидравлическая сила: Дарбышмр из английской Википедии — собственная работа (исходный текст: самодельный), общественное достояние, https://commons.wikimedia.org/w/index.php?curid=4458582
Самоблокирующееся устройство гидравлического домкрата — Динамометрические ключи | Гидравлические цилиндры
Самостопорящееся устройство гидравлического домкрата
Каковы характеристики и особенности использования самостопорящегося гидравлического домкрата? При каких условиях работы используется самоблокирующееся устройство гидравлического домкрата? Самоблокирующийся домкрат используется в местах, где необходимо поддерживать тяжелый объект в течение длительного времени.
Он все еще может поддерживать тяжелый объект на земле после того, как давление масла будет снято. Его можно использовать под водой, одинарного действия, втягивания груза, а гайка может автоматически стабилизировать груз. В крупных проектах это простой в эксплуатации гидравлический домкрат. Он имеет устройство поддержания давления внутри и предохранительный клапан внутри для предотвращения перегрузки. Резиновая труба высокого давления и резьбовое соединение выбраны для быстрого соединения и использования. В основном они используются для монтажа, поддомкрачивания и демонтажа оборудования в энергетике, строительстве, машиностроении, горнодобывающей, железнодорожно-мостовой, судостроительной и других отраслях промышленности.
Особенности самостопорящегося гидравлического домкрата: уникальный дизайн, компактность, малый вес и простота в обращении. Самоблокирующийся гидравлический домкрат имеет специальную конструкцию направляющего кольца, обеспечивающую поддержку давления центра смещения, а окрашенная поверхность обладает сверхизносостойкой и коррозионностойкой способностью.
Он может поставляться в полном комплекте, и может быть выбран соответствующий ручной насос или электрический насос. Гидравлическое самоблокирующееся устройство требуется при длительном поддомкрачивании строительных машин и оборудования.
Низкопрофильная стопорная гайка Гидравлические цилиндры, грузоподъемность Низкая стопорная гайка Гидравлический цилиндр домкрата Серия SLL, одностороннего действия Низкопрофильная стопорная гайка Гидравлический цилиндр Грузоподъемность: 60–520 тонн Ход: 1,77–1,97 дюйма Макс. Давление: 10 000 фунтов на квадратный дюйм, одностороннего действия, возврат нагрузки. Низкопрофильный дизайн, подходит для узкой области применения. Специальная окрашенная поверхность для повышения коррозионной стойкости. Контргайка обеспечивает безопасность […]
Поделись этой историей, выбери свою платформу!
Ремонт гидравлических домкратов — Услуги промышленных машин
Гидравлические домкраты в основном зависят от силы, создаваемой давлением.
По сути, когда два цилиндра соединены и сила приложена к одному цилиндру, в этих двух цилиндрах будет создаваться одинаковое давление. Однако из-за того, что один цилиндр больше, сила, которую он будет производить, будет выше, даже если давление в обоих цилиндрах останется одинаковым. В основном гидравлические домкраты зависят от принципа подъема тяжелых грузов; с помощью плунжеров насоса для перемещения масла через два цилиндра. Плунжер оттягивается назад первым, что приводит к открытию шарика всасывающего клапана внутри и всасывает масло в камеру насоса.Когда поршень толкается вперед, масло проходит через внешний выпускной обратный клапан прямо в полость цилиндра. Всасывающий клапан закрывается, что приводит к повышению давления внутри цилиндра.
Типы гидравлических клапанов
Существует два распространенных типа гидравлических домкратов: напольные и бутылочные.
Домкраты напольные
Вал напольных домкратов горизонтальный.
Вал в основном давит на кривошип, который соединяет подъемную площадку, что приводит к его горизонтальному подъему.Обычно они обеспечивают более широкий диапазон вертикального подъема по сравнению с бутылочными домкратами. Напольные домкраты бывают двух размеров. Первый обычно имеет длину 4 фута, ширину 1 фут и весит 200 фунтов. Эти могут поднимать от 4 до 10 тонн. Следующая — более компактная версия длиной 3 фута и грузоподъемностью 1,5 тонны. Существуют также так называемые «мини-домкраты», но они не считаются стандартными напольными домкратами. Вместо этого следует использовать первые два упомянутых размера.
Домкраты для бутылок
Бутылочный домкрат начали использовать в начале 1900-х годов, когда автомобильная промышленность только начинала развиваться.Бутылочные домкраты также называют ручными домкратами. Они предоставляют людям простой способ поднять автомобиль для придорожного обслуживания или осмотра. Бутылочные домкраты напоминают молочные бутылки, поэтому они и получили такое название.
В настоящее время эти домкраты различаются по весу и размеру и обеспечивают грузоподъемность от 100 до нескольких тонн. Бутылочный домкрат демонстрирует вертикальный вал, поддерживающий опорную площадку, которая непосредственно воспринимает вес объекта, когда он поднимается.
Хотя бутылочные домкраты в основном используются в автомобильной промышленности, они используются в различных отраслях промышленности.В медицинской сфере бутылочные домкраты полезны для подъема пациентов и гидравлических носилок. В промышленности бутылочные домкраты используются в качестве трубогибов, используемых в сантехнике, складских подъемниках, кабельных ножницах для электрических применений. Способность бутылочных домкратов поднимать тяжелые грузы служит ценным подспорьем для сельскохозяйственной техники, а также в различных строительных работах. Бутылочный домкрат можно закрепить за раму или установить на балку.
Groz 20 тонн гидравлической бутылки Джек с лимитом нагрузки Подъемный диапазон: 240 450 мм Джекбтт / 20 Вт, हाइड्रोलिक बॉटल जैक — сварные и молочные инженеры, New Delhi
Groz 20 тонн гидравлической бутылки Джек с ограничением нагрузки Подъемный диапазон: 240 450 мм Джекбтт /20w, हाइड्रोलिक बॉटल जैक — Инженеры по сварке и шлифовке, Нью-Дели | ID: 23552230588Спецификация продукта
| Heavy Duty Heading 30031 | ||
| Материал | Кованая сталь | |
| Тип автомобиля | Heavy Cover Chare | |
| Бренд | groz | groz |
| Размер / Размер | 25 x 26 x 124 сантиметров | |
| Гидравлический подъемник | Да | |
| Особенности | Вместимость: 20 тонн (18144 кг) Диапазон подъема: 240-450 мм (от 9-7/16″ до 17-11/16″) Идеально подходит для использования с HCV, Tr | |
| Страна происхождения | Сделано в Индии |
Описание продукта
Гидравлический бутылочный домкрат Groz — идеальное решение для надежного подъема части автомобиля для проведения ремонтных работ или планового технического обслуживания.
Это незаменимый инструмент для домашнего гаража или автомастерской, поскольку он занимает меньше места, чем обычный домкрат. Он оснащен «Устройством ограничения нагрузки», уникальной функцией безопасности, которая предотвращает случайное использование домкрата за пределами номинальной грузоподъемности.
Заинтересованы в этом товаре?Уточнить цену у продавца
Связаться с продавцом
О компании
Год основания1977
Правовой статус фирмы Индивидуальное предприятие (частное лицо)
Характер деятельностиОптовый торговец
Количество сотрудниковДо 10 человек
Годовой оборотRs.


При этом передаваемое усилие невысокое, оно способно создать требующееся давление для открытия клапана.
В рабочем отделении устройства присутствует воздух. В таком случае нужно долить масла в подъемник и произвести его прокачку.
Модели с лапой отличаются от обычных тем, что рассчитаны на низкий подхват.
Изображение гидравлического домкрата в разрезе приведено на рисунке.
Но внимания заслуживает и стоечный тип. Он подразумевает использование 1 или 2 винтов.




Так что поднимает гидродомкрат приличную массу.
Отлично показывает себя при одностороннем подъеме груза, актуально применять при замене колес на авто. Но для работы требуется ровная, жесткая поверхность. Бывает самодельный.

:format(jpeg):no_upscale():cachevalid(2019-11-29T09:16:23)/sortiment/050_hubgeraete/30_hubgeraete-hydraulisch/30_wagenheber-jh/13565_wagenheber-jh_img-01-alle.png)
Снаружи цилиндр представлен чугуном, который весьма восприимчив к ударной нагрузке. Поэтому следует обходится с рассматриваемым инструментом аккуратно.
Устройство плунжерного насоса характеризуется высокой надежностью, выходит из строя редко.
Время от времени нужно проводить добавление масла для поддержания требуемого уровня. Как правило, при интенсивном применении гидравлического домкрата или его транспортировке в неправильном положении уровень рабочей жидкости падает. Некоторые модели устройства обладают индикатором уровня масла.
Если конструкция не держит давление, то велика вероятность износа уплотнителей. В случае, когда подъем происходит с затруднением, то есть вероятность деформации штока или возникновении других проблем.
Кроме этого, придется полностью заменить используемое масло.
0